Запчасти Case CX210C NLC (35.352.04) - HYDRAULIC CIRCUIT - SWING MOTOR (35) - HYDRAULIC SYSTEMS

Схема запчастей Case CX210C NLC - (35.352.04) - HYDRAULIC CIRCUIT - SWING MOTOR (35) - HYDRAULIC SYSTEMS
6
2
7
3
11
5
6
8
7
10
3
4
2
9
1
11
FIT
1:1
100%

Артикул

Название

Примечание

Количество

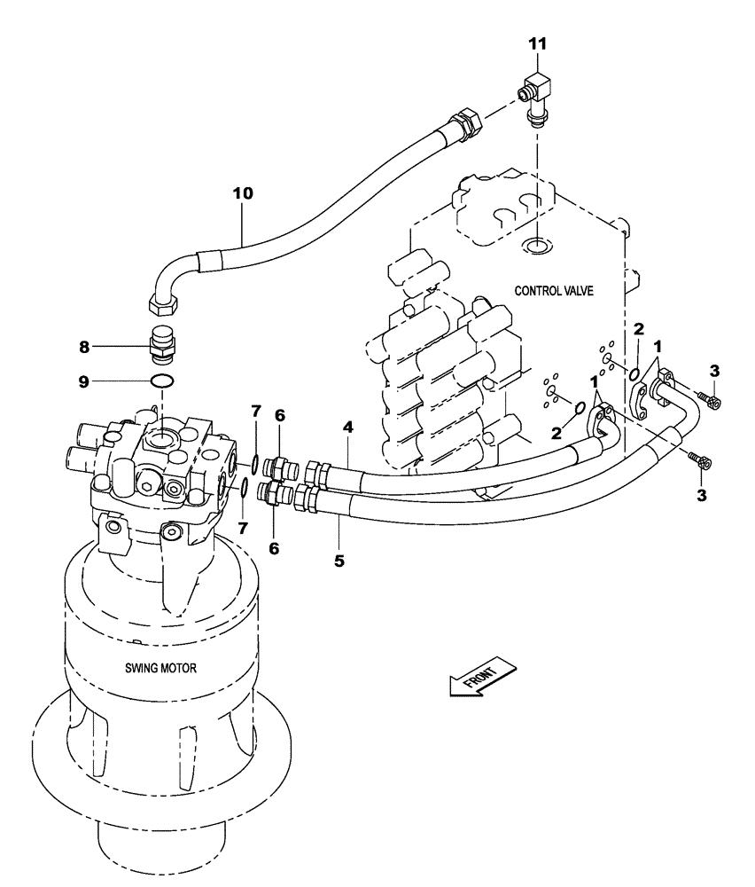
1

153458A1

FLANGE

4шт.

2

155210A1

O-RING

2шт.

3

862-10030

HEX SOC SCREW,M10 x 30mm, Cl 12.9

8шт.

4

KRJ26720

HYDRAULIC HOSE

1шт.

5

KRJ26730

HYDRAULIC HOSE

1шт.

6

151654A1

HYD CONNECTOR,3/4" NPT O-Ring x 3/4" NPT

Inc. 7

2шт.

7

154503A1

O-RING

2шт.

8

151655A1

HYD CONNECTOR,1" NPT O-Ring x 1" NPT

Inc. 9

1шт.

9

154523A1

O-RING

1шт.

10

KRJ28920

HYDRAULIC HOSE

660 mm

1шт.

11

KHJ24380

ELBOW

1шт.

Выбрано товаров: 11