Запчасти Case CX210C NLC (35.359.05) - FOOT CONTROL VALVE (35) - HYDRAULIC SYSTEMS

Схема запчастей Case CX210C NLC - (35.359.05) - FOOT CONTROL VALVE (35) - HYDRAULIC SYSTEMS
30
a
2d
18
9
13
2
17
24
28
31
a
23
20
12
19
7
1
8
0
3
5
14
10
11
22
18
2628
27
21
16
6
4
FIT
1:1
100%

Артикул

Название

Примечание

Количество

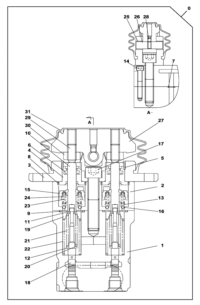
0

KHJ15050

VALVE PRESSURE RELIE

Inc. 2 - 25

1шт.

2

LG005580

STOP LOCK

2шт.

3

TIP0002073

BODY

1шт.

4

155515A1

PLUG

1шт.

6

154475A1

O-RING

1шт.

7

154487A1

O-RING

2шт.

8

KHJ15850

VALVE PRESSURE RELIE

Inc. 9 - 25

1шт.

9

NSS

1шт.

10

NSS

1шт.

11

NSS

1шт.

12

NSS

1шт.

13

NSS

1шт.

14

NSS

1шт.

15

NSS

1шт.

16

NSS

1шт.

17

NSS

2шт.

18

NSS

2шт.

19

NSS

1шт.

20

NSS

1шт.

21

174R012SR

JAM NUT

1шт.

22

154463A1

O-RING

1шт.

23

155223A1

O-RING

2шт.

24

154457A1

O-RING

1шт.

25

154481A1

O-RING

1шт.

Выбрано товаров: 24