Качественные детали и логистика
Оригинальные и аналоговые запчасти с доставкой по России, Казахстану и Беларуси
©2022 PartSell ООО "Система" ИНН 2463123282 ОГРН 1212400004838
Центральный офис: г. Красноярск, Академика Киренского, д.87, пом.4
Телефон: 8 (800) 777-65-74 Email: zakaz@partsell.ru
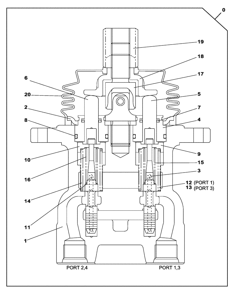
(35.359.08) - HAND CONTROL VALVE
№
Артикул
Название
Примечание
Количество
1
KRJ30110
CONTROL VALVE
1шт.
2
KBJ14460
BRACKET
3
166373A1
BOLT,Sems, M16 x 40mm
8шт.
Выбрано товаров: 0