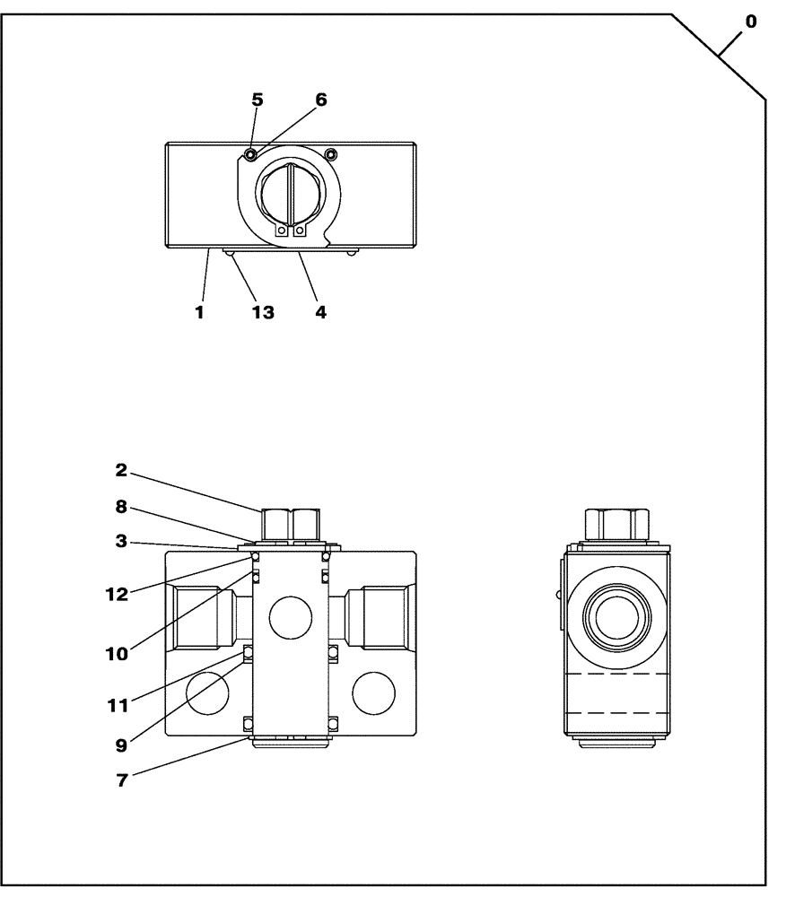
Запчасти Case CX210C NLC (35.359.12) - VALVE SHUT-OFF - OPTIONAL (35) - HYDRAULIC SYSTEMS

Схема запчастей Case CX210C NLC - (35.359.12) - VALVE SHUT-OFF - OPTIONAL (35) - HYDRAULIC SYSTEMS
5
4
6
2
1
3
10
8
12
9
11
7
13
FIT
1:1
100%

Артикул

Название

Примечание

Количество

1

KRJ16320

HYDRAULIC HOSE,22.2mm ID x 1070mm L

1шт.

2

KBJ14420

HYDRAULIC HOSE

1310 mm

1шт.

3

152598A1

HALF-COLLAR

4шт.

4

155210A1

O-RING

2шт.

5

862-10030

HEX SOC SCREW,M10 x 30mm, Cl 12.9

8шт.

6

150561A1

FLANGE

4шт.

7

155211A1

O-RING

2шт.

8

862-12040

HEX SOC SCREW,M12 x 40mm, Cl 12.9

8шт.

9

KRJ16270

SUPPORT

1шт.

10

152718A1

BOLT,Spcl, Hex Wshr, M12 x 25mm, Cl 10.9

2шт.

11

KRJ10790

HOSE CLIP

2шт.

12

KRJ10810

PLATE

1шт.

13

166347A1

BOLT,Sems, M10 x 30mm

M10 x 30

2шт.

Выбрано товаров: 13