Запчасти Case CX210C NLC (35.736.04) - HYD. LINE - MONOBLOCK BOOM - 2ND OPTIONAL (35) - HYDRAULIC SYSTEMS

Схема запчастей Case CX210C NLC - (35.736.04) - HYD. LINE - MONOBLOCK BOOM - 2ND OPTIONAL (35) - HYDRAULIC SYSTEMS
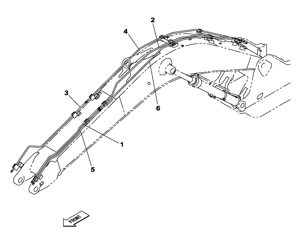
1
5
6
3
2
4
FIT
1:1
100%

Артикул

Название

Примечание

Количество

1

KRV19180

HYD TUBE

1шт.

2

KRV32700

PIPE

1шт.

3

KRV19190

HYD TUBE

1шт.

4

KRV32710

PIPE

1шт.

5

KRV19180

HYD TUBE

1шт.

6

KRV32720

PIPE

1шт.

1

KRV19180

HYD TUBE

1шт.

2

KRV32700

PIPE

1шт.

3

KRV19190

HYD TUBE

1шт.

4

KRV32710

PIPE

1шт.

5

KRV19180

HYD TUBE

1шт.

6

KRV32720

PIPE

1шт.

Выбрано товаров: 12