Качественные детали и логистика
Оригинальные и аналоговые запчасти с доставкой по России, Казахстану и Беларуси
©2022 PartSell ООО "Система" ИНН 2463123282 ОГРН 1212400004838
Центральный офис: г. Красноярск, Академика Киренского, д.87, пом.4
Телефон: 8 (800) 777-65-74 Email: zakaz@partsell.ru
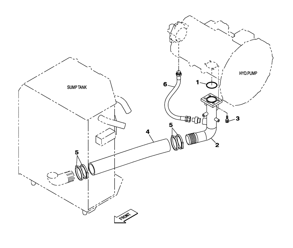
(35.745.01) - SUCTION HYDRAULIC CIRCUIT
№
Артикул
Название
Примечание
Количество
1
154681A1
O-RING
1шт.
2
KRJ10581
HYD TUBE
3
862-12030
HEX SOC SCREW,M12 x 30mm, Cl 12.9
4шт.
4
KHJ22310
HYDRAULIC HOSE
5
150905A1
CLAMP
6
KRJ4969
Выбрано товаров: 0