Запчасти Case CX210C NLC (39.140.01) - COUNTERWEIGHT - SOUNDPROOFING - CX210C NLC (39) - FRAMES AND BALLASTING

Схема запчастей Case CX210C NLC - (39.140.01) - COUNTERWEIGHT - SOUNDPROOFING - CX210C NLC (39) - FRAMES AND BALLASTING
1
12
11
6
3
8
10
7
2
5
9
13
4
11
FIT
1:1
100%

Артикул

Название

Примечание

Количество

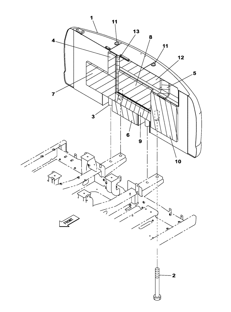
1

KRB20370Y2

COUNTERWEIGHT

1шт.

2

KHB10390

BOLT

4шт.

3

KRB10590

SPACER

4шт.

4

KBB14130

INSULATION

1шт.

5

KBB13650

INSULATION

1шт.

6

KBB11690

NOISE PROTECTION

1шт.

7

KBB14140

INSULATION

1шт.

8

KBB14150

INSULATION

1шт.

9

KBB14160

INSULATION

1шт.

10

KBB14170

INSULATION

1шт.

11

KHB0321

PLUG

2шт.

12

KBB14460

INSULATION

1шт.

13

KRB19060

SEAL

1шт.

Выбрано товаров: 13