Запчасти Case CX210C NLC (55.512.01) - CONTROLLER (55) - ELECTRICAL SYSTEMS

Схема запчастей Case CX210C NLC - (55.512.01) - CONTROLLER (55) - ELECTRICAL SYSTEMS
2
1.01
3
1
FIT
1:1
100%

Артикул

Название

Примечание

Количество

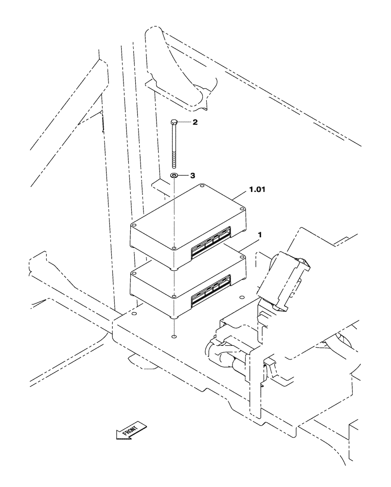
1

KHR29001

ECU

Machine A

1шт.

1.01

KHR29051

ECU

Machine B

1шт.

1-1.01

KHR29064R

REMAN ELECT CONTROL

Programmable to Function as Either Machine A or B. Must be Programmed According

1шт.

1-1.01

KHR29064C

CORE-ELECTRONIC CONT

Return Part Number

1шт.

2

KHR24840

BOLT

4шт.

3

895-11008

WASHER,9mm ID x 16mm OD x 1.6mm Thk

4шт.

Выбрано товаров: 6