Качественные детали и логистика
Оригинальные и аналоговые запчасти с доставкой по России, Казахстану и Беларуси
©2022 PartSell ООО "Система" ИНН 2463123282 ОГРН 1212400004838
Центральный офис: г. Красноярск, Академика Киренского, д.87, пом.4
Телефон: 8 (800) 777-65-74 Email: zakaz@partsell.ru
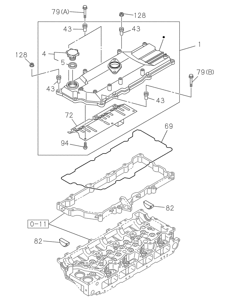
(10.101.02) - COVER - CYLINDER HEAD
№
Артикул
Название
Примечание
Количество
0-11
Cylinder Head, See Figure(s) 10.101.01 02
1шт.
1
87595244
VALVE COVER
Inc. 4, 43, 72, 94
4
288798A1
FILLER CAP
Inc. 5
5
72109500
OIL SEAL
43
87384321
RUBBER SEAL
11шт.
69
87595255
GASKET
72
438070A1
PLATE
79a
87595258
BOLT
2шт.
79b
87595261
7шт.
82
84389046
PLUG
94
87595263
SCREW
6шт.
128
87595271
NUT
Выбрано товаров: 0