Запчасти Case CX210C NLC (90.120.01) - OPERATORS COMPARTMENT - SEAT AND CONTROL ARM MOUNTING (90) - PLATFORM, CAB, BODYWORK AND DECALS

Схема запчастей Case CX210C NLC - (90.120.01) - OPERATORS COMPARTMENT - SEAT AND CONTROL ARM MOUNTING (90) - PLATFORM, CAB, BODYWORK AND DECALS
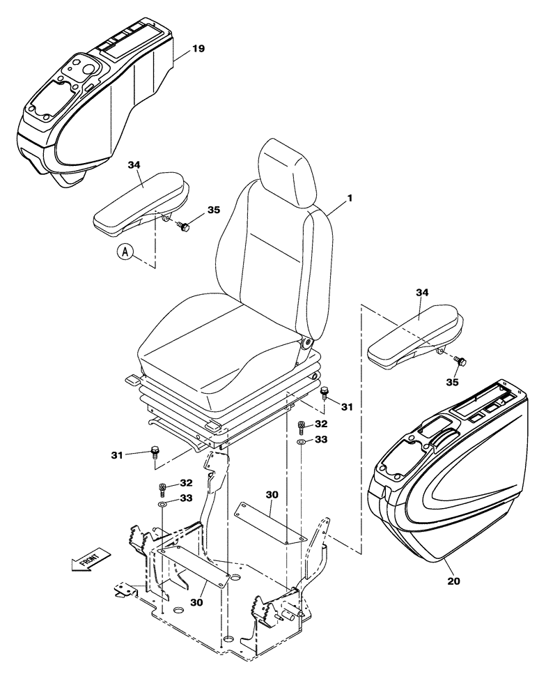
1
34
35
33
35
32
30
34
30
33
32
20
31
31
FIT
1:1
100%

Артикул

Название

Примечание

Количество

1

87706000

DRIVER SEAT

1шт.

30

KHN13531

PLATE

2шт.

31

166350A1

BOLT

4шт.

32

108R008Y020R

HEX SOC SCREW

4шт.

32

KHN26570

BOLT

CX250C LR

4шт.

33

892-11008

LOCK WASHER,8mm ID

4шт.

33

KHN26580

WASHER

CX250C LR

4шт.

34

KHN27560

ARMREST

2шт.

35

KHN13540

BOLT,Spcl

4шт.

35

KHN13540

BOLT,Spcl

CX250C LR

2шт.

19

REF

INSTRUCTION

Right

1шт.

20

REF

INSTRUCTION

Left

1шт.

Выбрано товаров: 12