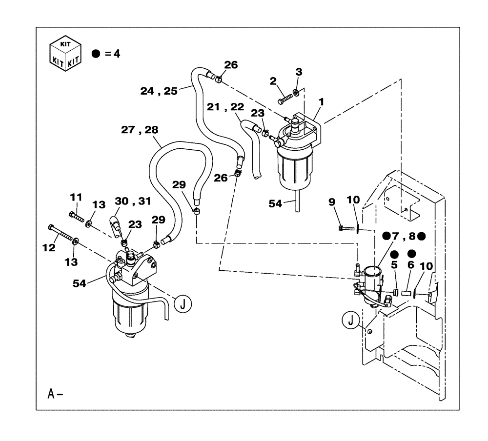
Запчасти Case CX210C NLC (10.218.01[02]) - FUEL SYSTEM (10) - ENGINE

Схема запчастей Case CX210C NLC - (10.218.01[02]) - FUEL SYSTEM (10) - ENGINE
13
30
26
5
23
6
54
24
29
21
29
12
3
28
10
26
27
2
31
1
4
25
7
9
23
22
13
54
10
11
8
FIT
1:1
100%

Артикул

Название

Примечание

Количество

1

KHH12020

FILTER ASSY

See Figure(s) 10.206.02

1шт.

2

827-8040

BOLT,Hex, M8 x 1.25 x 40mm, Cl 10.9

2шт.

3

153081A1

WASHER

2шт.

4

KHH11880

FEED PUMP

Inc. 5 - 8

1шт.

5

KHH10480

COLLAR

2шт.

6

KHH11890

FILTER SCREEN

1шт.

7

KHH11900

GASKET

1шт.

8

KHH10470

GROMMET

2шт.

9

162057A1

BOLT,Spcl, M6 x 35mm

2шт.

10

150529A1

WASHER

4шт.

11

827-8040

BOLT,Hex, M8 x 1.25 x 40mm, Cl 10.9

2шт.

12

102R008Y075R

BOLT

1шт.

13

153081A1

WASHER

3шт.

21

KHH12510

FUEL HOSE

1шт.

22

158062A1

PLASTIC-RUBBER TUBE

1шт.

23

KHH0405

MOUNTING CLIP

2шт.

24

KHH10610

FUEL HOSE,700.00 mm

1шт.

25

150488A1

PLASTIC-RUBBER TUBE

1шт.

26

KHH0405

MOUNTING CLIP

2шт.

27

KHH11780

FUEL HOSE

1шт.

28

158061A1

PLASTIC-RUBBER TUBE

1шт.

29

KHH0405

MOUNTING CLIP

2шт.

30

KHH0478

HOSE

1шт.

31

KHR13370

PLASTIC-RUBBER TUBE

1шт.

54

KHH12170

PLASTIC-RUBBER TUBE

2шт.

Выбрано товаров: 25