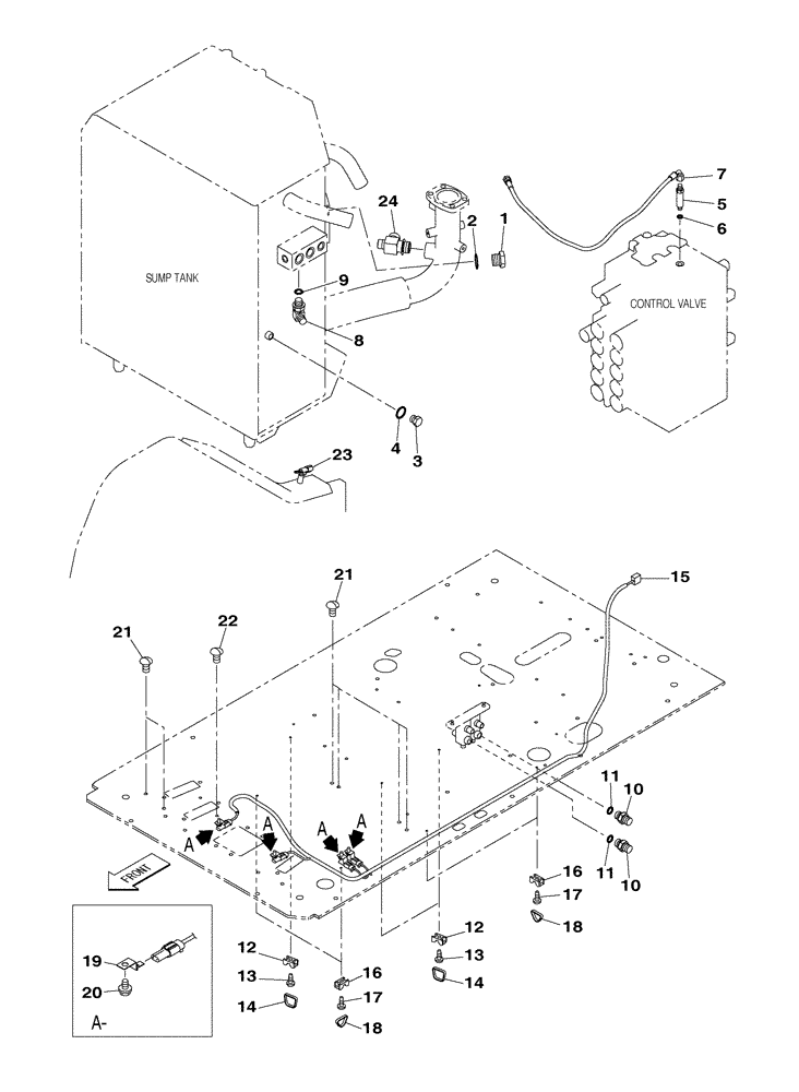
Запчасти Case CX210C NLC (35.310.06) - HYDRAULIC CIRCUIT - PLUG, BLANK-OFF - OPTIONAL (35) - HYDRAULIC SYSTEMS

Схема запчастей Case CX210C NLC - (35.310.06) - HYDRAULIC CIRCUIT - PLUG, BLANK-OFF - OPTIONAL (35) - HYDRAULIC SYSTEMS
14
16
21
7
21
24
4
23
6
17
19
13
3
20
10
22
16
18
14
15
12
9
8
11
18
5
12
13
1
17
2
11
10
FIT
1:1
100%

Артикул

Название

Примечание

Количество

1

162659A1

PLUG

Inc. 2

1шт.

2

154523A1

O-RING

1шт.

3

159002A1

PLUG

Inc. 4

1шт.

4

154467A1

O-RING,10.8mm ID x 2.4mm Width

1шт.

5

163104A1

ADAPTER

Inc. 6

1шт.

6

154467A1

O-RING,10.8mm ID x 2.4mm Width

1шт.

7

KHJ2249

HOSE

950 mm

1шт.

8

150913A1

ELBOW,90 Degree, 1/4" O-Ring x 1/4"

Inc. 9

1шт.

9

154467A1

O-RING,10.8mm ID x 2.4mm Width

1шт.

10

152127A1

HYD CONNECTOR,1/4" NPT O-Ring x 1/4" NPT

Inc. 11

2шт.

11

154467A1

O-RING,10.8mm ID x 2.4mm Width

1шт.

12

150860A1

COLLAR

3шт.

13

840-168

SCREW,Pan, M6 x 1 x 8mm, Cl 4.8

3шт.

14

150496A1

MOUNTING CLIP

250 mm

3шт.

15

KHR28600

WIRE HARNESS

1шт.

16

150860A1

COLLAR

4шт.

17

840-168

SCREW,Pan, M6 x 1 x 8mm, Cl 4.8

4шт.

18

150496A1

MOUNTING CLIP

250 mm

4шт.

19

158962A1

CLIP

4шт.

20

166345A1

BOLT

M8 x 16

4шт.

21

KHJ15060

CAP

6шт.

22

KHJ15080

CAP

1шт.

23

KHR16740

WIRE HARNESS

1шт.

24

KHJ23010

TEE

1шт.

Выбрано товаров: 24