Запчасти Case CX235C SR (35.350.01) - HOLDING VALVE (35) - HYDRAULIC SYSTEMS

Схема запчастей Case CX235C SR - (35.350.01) - HOLDING VALVE (35) - HYDRAULIC SYSTEMS
7
22
15
13
21
1
20
10
15
18
15
19
3
13
15
9
15
6
15
25
17
15
12
11
5
26
16
14
15
4
15
28
8
5
23
27
24
2
FIT
1:1
100%

Артикул

Название

Примечание

Количество

0

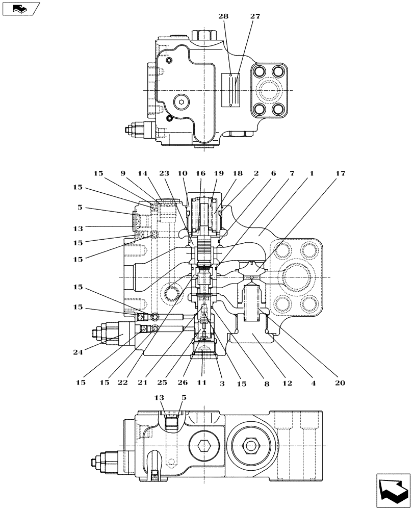
KRV11120

VALVE SECTION

Incl 2 - 14, 16 - 20, 24 - 26

1шт.

1

NSS

NOT SOLD SEPARAT

No Longer Included in BOM, Remove From Art

1шт.

2

154535A1

O-RING

1шт.

3

154499A1

O-RING

1шт.

4

154523A1

O-RING

1шт.

5

154467A1

O-RING,10.8mm ID x 2.4mm Width

2шт.

6

166804A1

O-RING

1шт.

7

LBQ6021

O-RING

1шт.

8

LE013260

SEAL

1шт.

9

154475A1

O-RING

1шт.

10

LK005500

PLUG

1шт.

11

LK005360

PLUG

1шт.

12

LK005530

PLUG

1шт.

13

LK00015

PLUG

2шт.

14

LK00008

PLUG

1шт.

15

NSS

NOT SOLD SEPARAT

No Longer Included in BOM, Remove From Art

9шт.

16

LR014580

SPRING SEAT

1шт.

17

LJ014310

VALVE POPPET

1шт.

18

LG005860

COMPRESSION SPRING

1шт.

19

LG005870

COMPRESSION SPRING

1шт.

20

LG005890

COMPRESSION SPRING

1шт.

21

NSS

NOT SOLD SEPARAT

No Longer Included in BOM, Remove From Art

1шт.

22

NSS

NOT SOLD SEPARAT

No Longer Included in BOM, Remove From Art

1шт.

23

NSS

NOT SOLD SEPARAT

No Longer Included in BOM, Remove From Art

1шт.

24

LJ014280

VALVE PRESSURE RELIE

1шт.

25

LJ014290

PISTON

1шт.

26

LJ014300

PISTON

1шт.

27

NSS

NOT SOLD SEPARAT

No Longer Included in BOM, Remove From Art

1шт.

Выбрано товаров: 28