Запчасти Case CX235C SR (35.354.01) - SWING JOINT (35) - HYDRAULIC SYSTEMS

Схема запчастей Case CX235C SR - (35.354.01) - SWING JOINT (35) - HYDRAULIC SYSTEMS
7
16
8
17
13
4
5
11
18
1
12
6
2
3
19
10
14
8
9
FIT
1:1
100%

Артикул

Название

Примечание

Количество

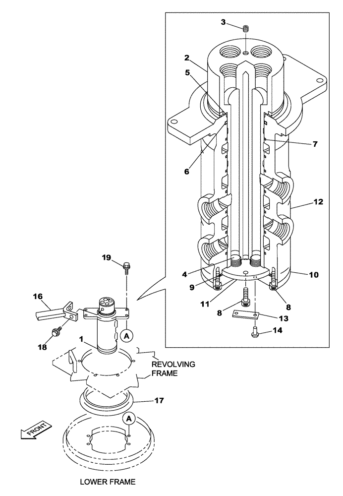
1

KRA11190

HYDRAULIC SWIVEL

1шт.

1

KRA11190R

REMAN-HYDRAULIC SWIV

CX235C SR CRAWLER EXCAVATOR - TIER 4 (NA) (3/12-)

1шт.

1

KRA11190C

CORE-HYDRAULIC SWIV

Return Number

1шт.

2

KRA11200

HOUSING

1шт.

3

150821A1

PLUG

1шт.

4

150829A1

PLUG

4шт.

5

151814A1

SEAL,72mm ID x 84mm OD x 11mm Thk

1шт.

6

KHA10130

O-RING

1шт.

7

168295A1

SEALING RING,80mm ID x 90mm OD x 4.8mm Thk

SEALRING

7шт.

8

862-8025

HEX SOC SCREW,M8 x 25mm, Cl 12.9

8шт.

9

154721A1

O-RING,99.4mm ID x 3.1mm Width

1шт.

10

KRA1874

COVER

1шт.

11

KRA10380

THRUST PLATE

1шт.

12

KRA1872

ROTOR

1шт.

13

152593A1

TYPE PLATE

1шт.

14

301-1413

DRIVE SCREW,Drive, #2 x 3/16"

2шт.

16

KRA11210

LOCKING BAR

1шт.

17

KRA11090

SEALING RING

SEALRING

1шт.

18

166352A1

BOLT

M12 x 30

2шт.

19

105R012Y045R

BOLT

M12 x 45

4шт.

Выбрано товаров: 20