Запчасти Case CX235C SR (35.359.03[04]) - CONTROL VALVE (35) - HYDRAULIC SYSTEMS

Схема запчастей Case CX235C SR - (35.359.03[04]) - CONTROL VALVE (35) - HYDRAULIC SYSTEMS
33
33
34
28
57
24
74
32
16
15
30
33
36
33
32
35
27
31
37
28
75
17
55
74
34
89
62
31
62
75
75
23
35
22
36
33
75
74
29
71
53
56
88
74
33
54
29
31
19
30
71
60
34
18
20
21
32
FIT
1:1
100%

Артикул

Название

Примечание

Количество

0

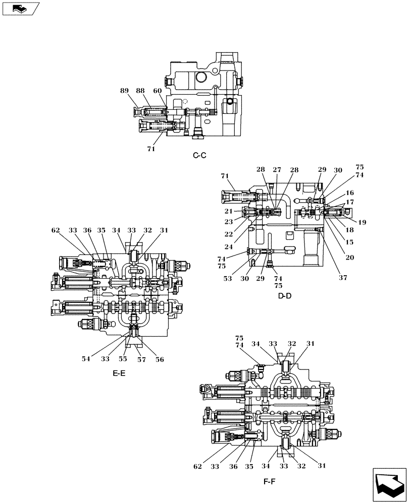
KRJ31050

CONTROL VALVE

1шт.

15

LR015250

CAP

1шт.

16

NSS

NOT SOLD SEPARAT

No Longer Included in BOM, Remove From Art

1шт.

17

163393A1

SPRING SEAT

2шт.

18

LG00338

SPRING

1шт.

19

LPC0222

END FITTING

1шт.

20

154514A1

O-RING

1шт.

21

LK005690

PLUG

1шт.

22

154503A1

O-RING

1шт.

23

LG00339

SPRING

1шт.

24

LJ014690

SPOOL,Regeneration

1шт.

27

154483A1

O-RING

1шт.

28

153967A1

BACK-UP RING

2шт.

29

LJ00726

VALVE POPPET

2шт.

30

LG00340

SPRING

2шт.

31

LJ00727

VALVE POPPET

7шт.

32

LG00341

SPRING

8шт.

33

154539A1

O-RING

10шт.

34

LH00248

CAP

6шт.

35

163390A1

VALVE POPPET

2шт.

36

163394A1

SPRING

2шт.

37

LJ00731

ORIFICE

1шт.

53

LH004970

SPACER

1шт.

54

LH004980

SLEEVE

1шт.

55

160187A1

VALVE POPPET

1шт.

56

160242A1

SPRING

1шт.

57

LH004990

FLANGE

1шт.

60

LE014890

O-RING,3.53mm Thk x 25.7mm ID, Cl 6

10шт.

62

LJ018980

SOLENOID VALVE

2шт.

71

LJ014700

VALVE PRESSURE RELIE

2шт.

74

163369A1

PLUG

Incl 75

9шт.

75

154475A1

O-RING

9шт.

88

NSS

NOT SOLD SEPARAT

No Longer Included in BOM, Remove From Art

1шт.

89

LR018610

CAP

1шт.

Выбрано товаров: 34