Запчасти Case CX235C SR (35.736.01) - HYD. LINE - BOOM CYLINDER - EMS (35) - HYDRAULIC SYSTEMS

Схема запчастей Case CX235C SR - (35.736.01) - HYD. LINE - BOOM CYLINDER - EMS (35) - HYDRAULIC SYSTEMS
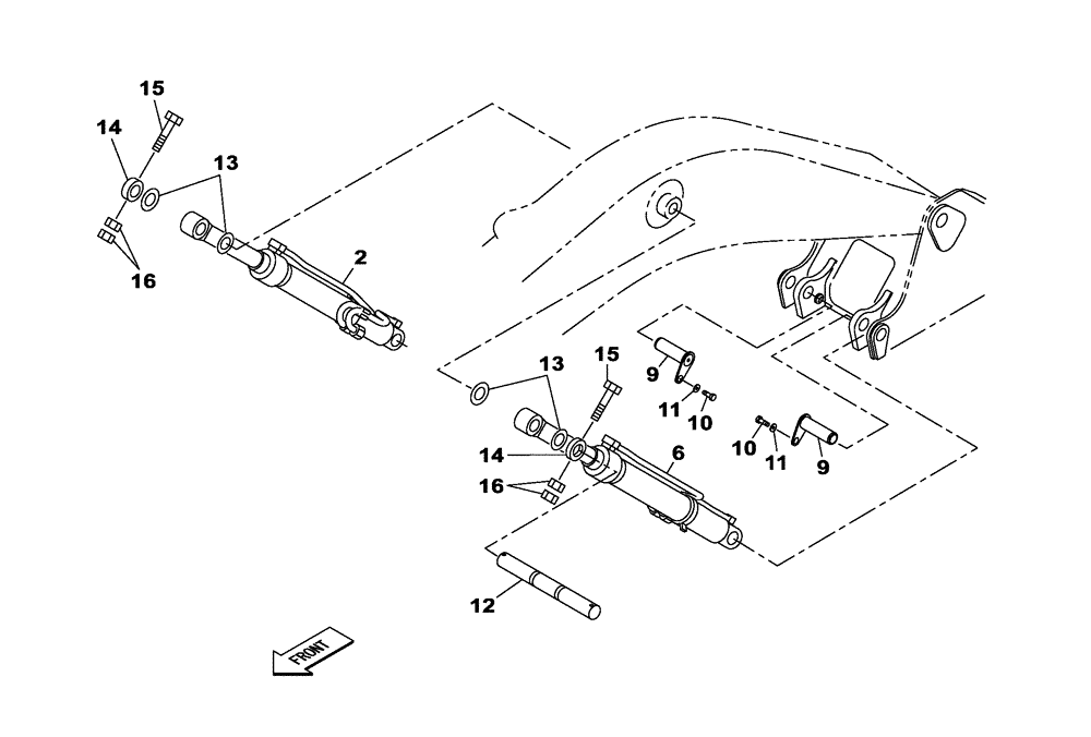
2
12
9
10
16
15
13
6
16
11
14
15
11
9
10
14
13
FIT
1:1
100%

Артикул

Название

Примечание

Количество

2

KRV33880

CYLINDER

See Figure 35.736.08

1шт.

2

KRV33880R

REMAN-HYD CYLINDER

CX235C SR CRAWLER EXCAVATOR - TIER 4 (NA), EMS (3/12-)

1шт.

2

KRV33880C

CORE-HYD CYLINDER

Return Number

1шт.

6

KRV33890

CYLINDER

See Figure 35.736.09

1шт.

6

KRV33890R

REMAN-HYD CYLINDER

CX235C SR CRAWLER EXCAVATOR - TIER 4 (NA), EMS (3/12-)

1шт.

6

KRV33890C

CORE-HYD CYLINDER

Return Number

1шт.

9

KRV10960

PIN

2шт.

10

627-12025

BOLT,Hex, M12 x 1.75 x 25mm, Cl 10.9, Full Thd

2шт.

11

157141A1

WASHER

2шт.

12

169087A1

PIN

1шт.

13

160453A1

SHIM

4шт.

14

160451A1

LOCKING RING

2шт.

15

514-1222

BOLT,Hex, M20 x 1.5 x 170mm, Cl 10.9

2шт.

16

829-11420

NUT,M20 x 1.5, Cl 10

4шт.

Выбрано товаров: 14