Запчасти Case CX235C SR (35.736.09) - BOOM CYLINDER - LEFT (35) - HYDRAULIC SYSTEMS

Схема запчастей Case CX235C SR - (35.736.09) - BOOM CYLINDER - LEFT (35) - HYDRAULIC SYSTEMS
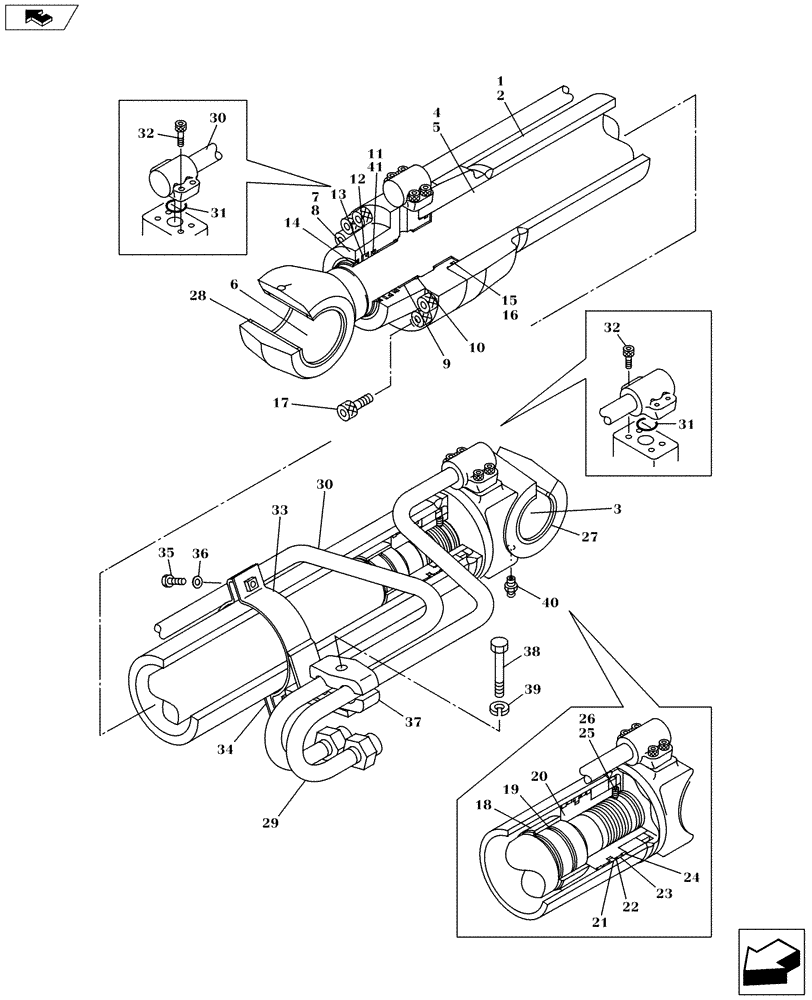
31
35
15
34
19
39
30
38
11
31
22
9
13
29
12
28
14
1
21
23
6
25
18
17
41
2
32
36
8
4
37
3
26
16
20
27
7
40
33
10
5
32
30
24
FIT
1:1
100%

Артикул

Название

Примечание

Количество

0

KRV33890

CYLINDER

Incl 1 - 41

1шт.

0

KRV33890R

REMAN-HYD CYLINDER

CX235C SR CRAWLER EXCAVATOR - TIER 4 (NA), LEFT (3/12-)

1шт.

0

KRV33890C

CORE-HYD CYLINDER

Return Number

1шт.

1

LR019750

TUBE

Incl 2 - 3

1шт.

2

NSS

NOT SOLD SEPARAT

Rod, Piston, Incl in 1

1шт.

3

KRV2401

SELF LUB RING

1шт.

4

LB014650

PISTON ROD

Incl 5 - 6

1шт.

5

NSS

NOT SOLD SEPARAT

Rod, Piston, Incl in 4

1шт.

6

KRV2395

SELF LUB RING

1шт.

7

LU00105

CYLINDER END CAP

1шт.

8

LU00106

CYLINDER END CAP

1шт.

9

155419A1

BUSHING

1шт.

10

155697A1

RING, SNAP

RING SNAP

1шт.

11

LE013140

RING

1шт.

12

LE013150

RING

1шт.

13

155232A1

BACK-UP RING

1шт.

14

LE019440

SHAFT SEAL

1шт.

15

154753A1

O-RING,114.4mm ID x 3.1mm Width

1шт.

16

155234A1

BACK-UP RING

1шт.

17

161059A1

BOLT,Hex Skt, M16 x 70mm, Cl 12.9

HEX SOC HD

12шт.

18

LE020090

RING

1шт.

19

LE00704

SEAL

1шт.

20

LJ014150

PISTON

1шт.

21

155313A1

SEALING RING

1шт.

22

LE00705

BACK-UP RING

2шт.

23

LE013170

BACK-UP RING

2шт.

24

155308A1

RING

2шт.

25

156223A1

SET SCREW

1шт.

26

155977A1

BALL

Steel

1шт.

27

160483A1

BACK-UP RING

Wiper

2шт.

28

160484A1

WIPER SEAL

Ring, Wiper

2шт.

29

LR014080

HYD TUBE

1шт.

30

LR019770

PIPE

1шт.

31

154528A1

O-RING

2шт.

32

87016471

HEX SOC SCREW,M10 x 30mm, Cl 12.9

8шт.

33

LD001370

CLAMP BRACKET

1шт.

34

LD00040

CLAMP BRACKET

1шт.

35

158131A1

BOLT,High Strength, M10 x 1.5 x 35mm, Cl 10.9

Bolt, High Strength

2шт.

36

156227A1

WASHER

2шт.

37

155701A1

COLLAR

Holder, Pipe

2шт.

38

153910A1

BOLT,High Strength, Hex, M14 x 80mm

Bolt, High Strength

1шт.

39

892-16014

LOCK WASHER,M14, Hvy

Spring Lock 14MM HVY ZND

1шт.

40

153630A1

LUBE NIPPLE

Grease

1шт.

41

LZ010930

SEAL KIT

Incl 11 - 16, 19, 21 - 24

1шт.

Выбрано товаров: 44