Запчасти Case CX235C SR (35.741.03) - BLADE CYLINDER (35) - HYDRAULIC SYSTEMS

Схема запчастей Case CX235C SR - (35.741.03) - BLADE CYLINDER (35) - HYDRAULIC SYSTEMS
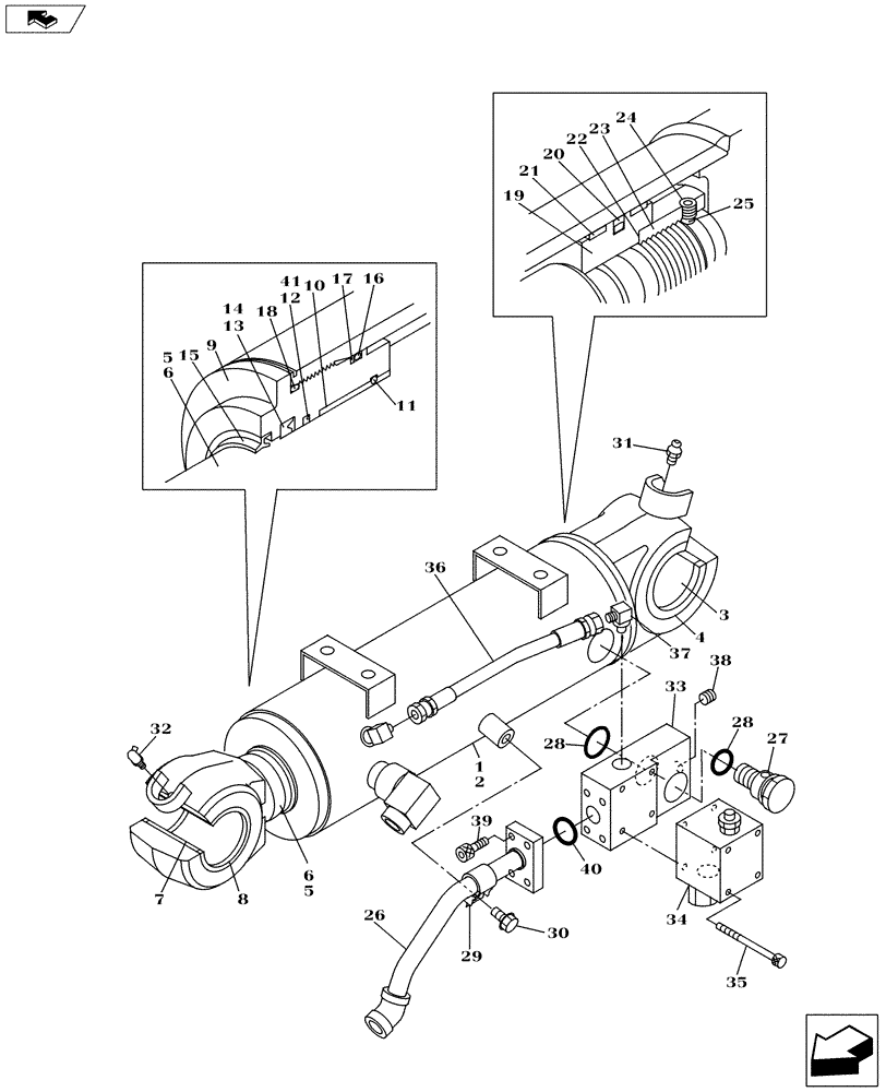
30
28
3
28
4
34
27
25
7
14
15
18
11
36
40
26
38
6
9
32
8
20
5
10
35
41
17
24
12
22
31
37
6
23
1
16
13
19
5
2
39
33
29
21
FIT
1:1
100%

Артикул

Название

Примечание

Количество

1

LZ007830

HYD CYL SLEEVE

1шт.

2

LR014860

HYD CYL SLEEVE

1шт.

3

161031A1

BUSHING

Pin

1шт.

4

164445A1

RING

Wiper

2шт.

5

LB00849

PISTON ROD

Incl 6 - 8

1шт.

6

NSS

NOT SOLD SEPARAT

Piston Rod, Incl in 5

1шт.

7

161031A1

BUSHING

Pin

1шт.

8

164445A1

RING

Wiper

2шт.

9

LU00173

PISTON ROD

1шт.

10

155416A1

BUSHING

1шт.

11

155696A1

RING, SNAP

RING SNAP

1шт.

12

155136A1

SCRAPER RING

1шт.

13

155132A1

RING,80mm ID x 95mm OD x 9mm Thk

U

1шт.

14

155241A1

BACK-UP RING

1шт.

15

LE019430

WIPER

Ring

1шт.

16

154769A1

O-RING

1шт.

17

LE00433

BACK-UP RING

1шт.

18

154775A1

O-RING

1шт.

19

LJ01017

PISTON

1шт.

20

155323A1

SEALING RING

1шт.

21

LE00910

SEALING STRIP

2шт.

22

155737A1

SHIM

1шт.

23

LA00675

SPECIAL NUT

1шт.

24

156223A1

SET SCREW

1шт.

25

155977A1

BALL

Steel

1шт.

26

LR014870

HYD TUBE

1шт.

27

LK00348

PLUG

1шт.

28

154515A1

O-RING

2шт.

29

LS00179

BRACKET

1шт.

30

LA00789

BOLT,Spcl

1шт.

31

153630A1

LUBE NIPPLE

Grease

1шт.

32

153631A1

LUBE NIPPLE,1/8"-27 NPT

Grease

1шт.

33

LR014880

PLATE

1шт.

34

LJ00990

SAFETY VALVE

1шт.

35

863-8080

HEX SOC SCREW,M8 x 80mm, Cl 12.9

M8 X 80 HSHD CAP CL12.9 PHC

4шт.

36

LK005590

HOSE

1шт.

37

LK00402

FITTING

1шт.

38

TLU0003

PLUG

1шт.

39

861-8025

HEX SOC SCREW,M8 x 25mm, Cl 12.9

SOC HD M8X25 12.9 BLO

4шт.

40

154499A1

O-RING

1шт.

41

LZ00542

SEAL KIT

Incl 12 - 18, 20, 28

1шт.

Выбрано товаров: 41