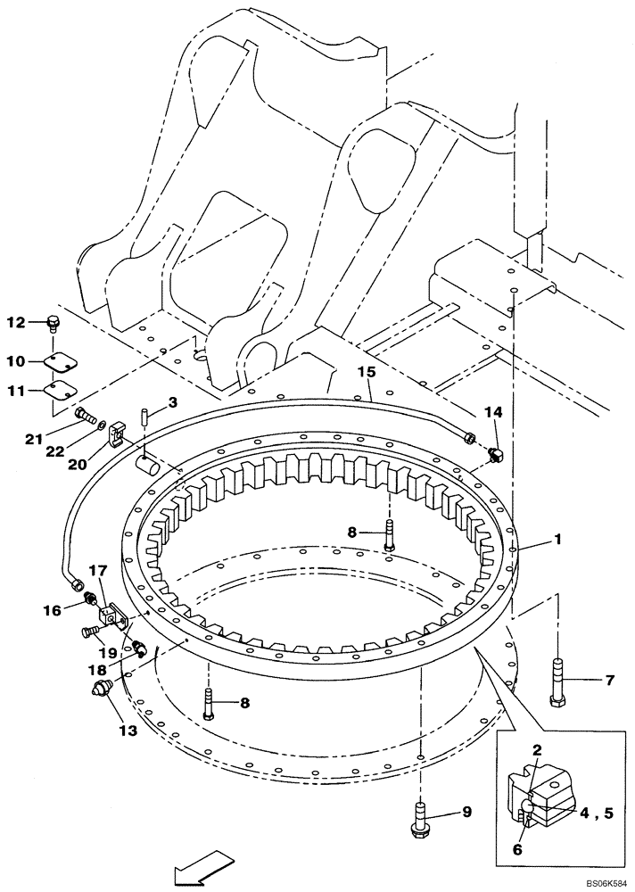
Запчасти Case CX235C SR (39.103.01) - TURNTABLE BEARING (39) - FRAMES AND BALLASTING

Схема запчастей Case CX235C SR - (39.103.01) - TURNTABLE BEARING (39) - FRAMES AND BALLASTING
1
9
7
17
22
8
15
14
5
16
20
11
8
13
21
10
6
12
18
4
3
19
2
FIT
1:1
100%

Артикул

Название

Примечание

Количество

1

KRB18880

SLEWING RING

Incl. 2 - 6

1шт.

2

KRB1273

SEALING RING

1шт.

3

160433A1

DOWEL

1шт.

4

150980A1

BEARING, BALL,28.57mm OD

120шт.

5

163865A1

SPACER

120шт.

6

KRB1274

SEALING RING

1шт.

7

827-20100

BOLT,Hex, M20 x 2.5 x 100mm, Cl 10.9

28шт.

8

165900A1

BOLT,M20 x 100mm, Cl 10.9

2шт.

9

166353A1

BOLT,Flng, M20 x 65mm, Cl 10.9

36шт.

10

KAB11240Y2

PLATE

1шт.

11

KAB0623

PACKING

1шт.

12

166351A1

BOLT,Sems, M10 x 20mm

2шт.

13

153630A1

LUBE NIPPLE

1шт.

14

152627A1

ELBOW

1шт.

15

KRB10720

HYD TUBE,6 mm ID x 8 mm OD

1шт.

16

152599A1

MULTIPOLE CONNECTOR

1шт.

17

KRB10730

MANIFOLD VALVE

1шт.

18

153631A1

LUBE NIPPLE,1/8"-27 NPT

1шт.

19

166345A1

BOLT

1шт.

20

151504A1

CLAMP

1шт.

21

627-8030

BOLT,Hex, M8 x 1.25 x 30mm, Cl 10.9, Full Thd

1шт.

22

153081A1

WASHER

1шт.

23

169345A1

REPAIR KIT

Not Shown

1шт.

Выбрано товаров: 23