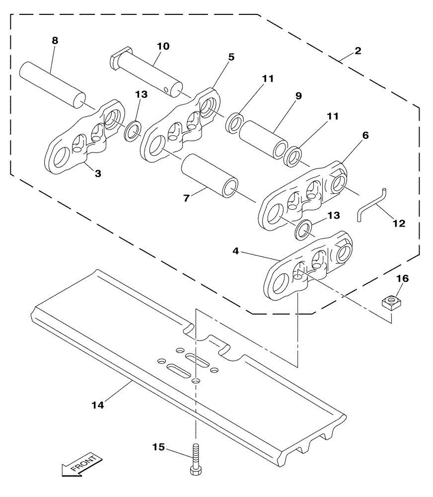
Запчасти Case CX235C SR (48.100.01) - TRACK - FOOTSTEP - 600 MM (48) - TRACKS & TRACK SUSPENSION

Схема запчастей Case CX235C SR - (48.100.01) - TRACK - FOOTSTEP - 600 MM (48) - TRACKS & TRACK SUSPENSION
15
13
13
6
2
16
8
11
14
10
12
11
3
9
5
4
7
FIT
1:1
100%

Артикул

Название

Примечание

Количество

2

KRA11500

CHAIN (CE)

Incl 3 - 13

1шт.

3

KRA1807

LINK

RH

48шт.

4

KRA1808

LINK

LH

48шт.

5

KRA1809

LINK

RH

1шт.

6

KRA1810

LINK CHAIN

LH

1шт.

7

KRA1811

BUSHING

48шт.

8

KRA11110

PIN

48шт.

9

KRA1569

BUSHING

1шт.

10

159676A1

HEADED PIN,36.3mm OD x 208mm L

1шт.

11

159673A1

SPACER, RING

2шт.

12

159677A1

COTTER PIN,8mm OD

2шт.

13

KRA1814

DUST CAP

96шт.

14

165934A1

TRACK SHOE

600 mm

49шт.

15

159668A1

BOLT,Hex, M20 x 1.5 x 53mm

196шт.

16

159669A1

NUT

196шт.

Выбрано товаров: 15