Запчасти Case CX235C SR (48.134.01) - TENSION DAMPER (48) - TRACKS & TRACK SUSPENSION

Схема запчастей Case CX235C SR - (48.134.01) - TENSION DAMPER (48) - TRACKS & TRACK SUSPENSION
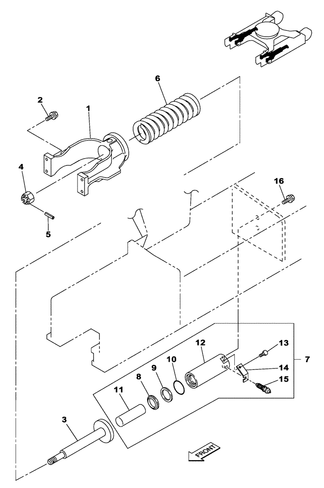
1
14
13
16
3
15
10
6
5
12
4
8
2
7
11
9
FIT
1:1
100%

Артикул

Название

Примечание

Количество

1

KRA14080

FORK

2шт.

2

165929A1

BOLT,Sems, M16

M16 x 50

8шт.

3

KRA1606

ROD

L=665mm

2шт.

4

283647A1

SLOTTED NUT

2шт.

5

738-1880

LOCK PIN,8mm OD x 80mm L, Slotted

2шт.

6

KBA13900

TENSION SPRING

L=625mm

2шт.

7

KRA12850

CYLINDER

Incl 8 - 15 (L=340mm)

2шт.

8

151686A1

SEAL,70mm ID x 84mm OD x 11mm Thk

1шт.

9

KRA12860

GASKET

OD 70.3mm - ID 55.4mm - Thk 6.25mm

1шт.

10

800-1155

RETAINER,55mm ID

1шт.

11

KRA12880

PISTON ROD

1шт.

12

KRA12890

HYD CYL SLEEVE

1шт.

13

166351A1

BOLT,Sems, M10 x 20mm

M10 x 20

1шт.

14

KBA1121

BRACKET

1шт.

15

150107A1

LUBE NIPPLE

1шт.

16

165930A1

BOLT,Sems, M16 x 55mm

M16 x 60

4шт.

Выбрано товаров: 16