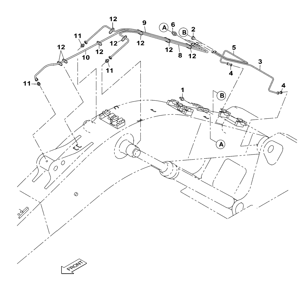
Запчасти Case CX235C SR (71.460.01) - LUBRICATION LINE - BOOM (71) - LUBRICATION SYSTEM

Схема запчастей Case CX235C SR - (71.460.01) - LUBRICATION LINE - BOOM (71) - LUBRICATION SYSTEM
11
2
1
12
11
4
8
12
11
6
12
12
4
12
12
5
9
3
12
10
FIT
1:1
100%

Артикул

Название

Примечание

Количество

1

153630A1

LUBE NIPPLE

5шт.

2

152599A1

MULTIPOLE CONNECTOR

2шт.

3

KRV19270

HYD TUBE,6 mm ID x 8 mm OD

1шт.

4

152599A1

MULTIPOLE CONNECTOR

2шт.

5

KRV19280

HYD TUBE,6 mm ID x 8 mm OD

1шт.

6

KRJ4050

ADAPTER

3шт.

8

NSS

NOT SOLD SEPARAT

Set, Hoses, Incl in Upper Assy, Incl 9 - 10, 13

1шт.

9

KHJ2070

HOSE

1шт.

10

KHJ2071

HOSE

1шт.

11

153603A1

ADAPTER

3шт.

12

150067A1

MOUNTING CLIP

7шт.

13

KHJ2174

HOSE

Not Shown

1шт.

Выбрано товаров: 12