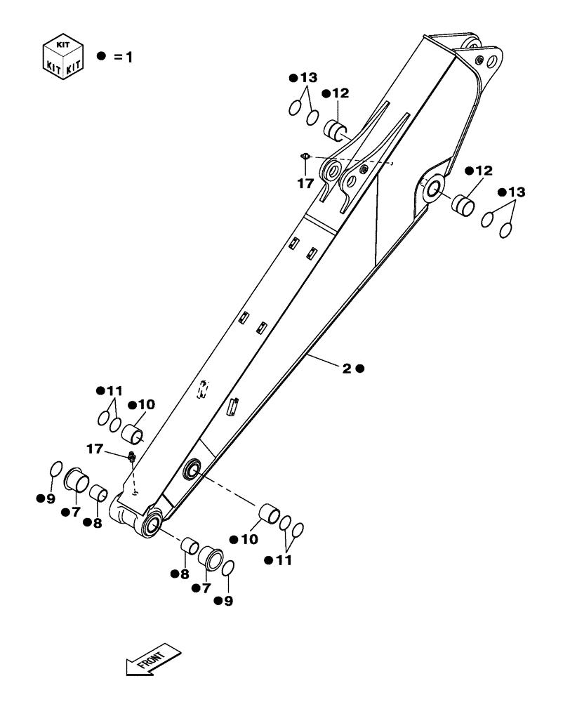
Запчасти Case CX235C SR (84.912.01) - DIPPER - 2.90 M (84) - BOOMS, DIPPERS & BUCKETS

Схема запчастей Case CX235C SR - (84.912.01) - DIPPER - 2.90 M (84) - BOOMS, DIPPERS & BUCKETS
1
1
11
7
1
1
12
17
13
10
1
1
1
10
9
7
1
8
1
17
1
1
1
8
2
1
12
9
13
11
1
1
FIT
1:1
100%

Артикул

Название

Примечание

Количество

1

KRV32270

DIPPER

Std 2.90 m, Incl 7 - 13

1шт.

2

NSS

NOT SOLD SEPARAT

No Longer Included in BOM, Remove From Art

1шт.

7

KRV2408

BUSHING

2шт.

8

KRV10910

BUSHING

2шт.

9

159647A1

SEAL,80mm ID x 95mm OD x 5mm Thk

2шт.

10

KRV2396

BUSHING,75mm ID x 90mm OD x 60mm L

2шт.

11

160400A1

SEAL,75mm ID x 90mm OD x 5mm Thk

4шт.

12

KRV2397

SELF LUB RING

2шт.

13

159648A1

SEAL,90mm ID x 105mm OD x 5mm Thk

4шт.

17

153630A1

LUBE NIPPLE

2шт.

Выбрано товаров: 10