Качественные детали и логистика
Оригинальные и аналоговые запчасти с доставкой по России, Казахстану и Беларуси
©2022 PartSell ООО "Система" ИНН 2463123282 ОГРН 1212400004838
Центральный офис: г. Красноярск, Академика Киренского, д.87, пом.4
Телефон: 8 (800) 777-65-74 Email: zakaz@partsell.ru
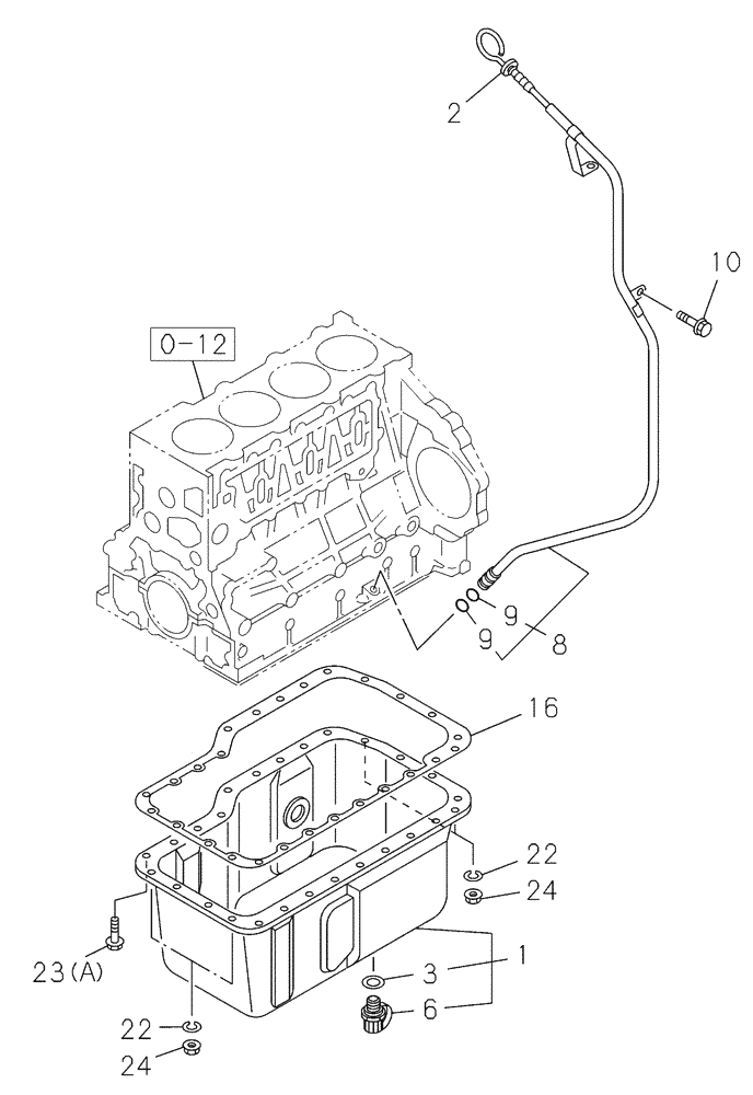
(10.102.01) - OIL PAN
№
Артикул
Название
Примечание
Количество
0-12
84389127
CYLINDER BLOCK,4 Cylinders, W/O Turbocharger
1шт.
1
87595857
ENGINE OIL PAN
Incl 3, 6
2
84388899
LEVEL GAUGE
Dipstick
3
87393862
OIL PAN GASKET SET
6
84389465
PLUG
8
84389469
TUBE
Incl 2, 9
9
289418A1
GASKET
2шт.
10
87595866
BOLT
16
87595867
22
87730035
WASHER
4шт.
23
84545040
22шт.
24
289777A1
NUT
Выбрано товаров: 0