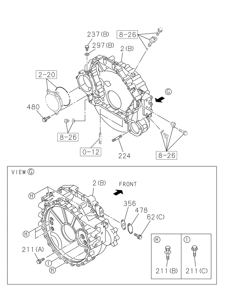
Запчасти Case CX235C SR (10.103.01[03]) - ENGINE FLYWHEEL HOUSING (10) - ENGINE

Схема запчастей Case CX235C SR - (10.103.01[03]) - ENGINE FLYWHEEL HOUSING (10) - ENGINE
211a
2b
224
480
0-12
2-20
478
8-26
211c
237b
297b
8-26
356
62c
211b
2b
8-26
FIT
1:1
100%

Артикул

Название

Примечание

Количество

0-12

87595844

STUD

1шт.

2-20

87393870

COVER

1шт.

8-26

84387716

PLUG

1шт.

2a

84389338

HOUSING

1шт.

62c

87595866

BOLT

2шт.

211a

87596013

BOLT

1шт.

211b

87596027

BOLT

11шт.

211c

87596028

BOLT

1шт.

224

87596029

STUD

2шт.

237a

355640A1

BOLT

1шт.

297a

289091A1

PACKING

1шт.

356

71457029

SEAL

1шт.

478

NSS

NOT SOLD SEPARAT

Cover, Oil, Incl in Upper Assy

1шт.

480

71456259

SCREW

3шт.

Выбрано товаров: 14