Запчасти Case CX235C SR (10.206.01) - FUEL FILTER (10) - ENGINE

Схема запчастей Case CX235C SR - (10.206.01) - FUEL FILTER (10) - ENGINE
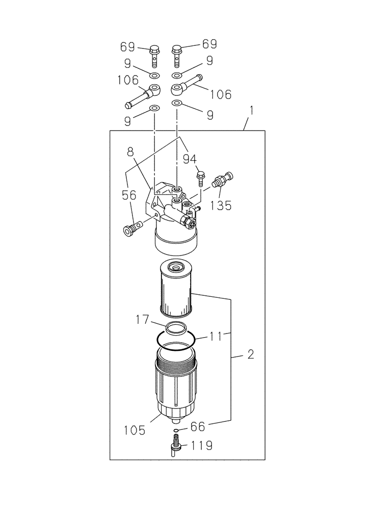
66
8
69
119
69
17
9
11
9
9
94
135
2
1
9
106
56
106
105
FIT
1:1
100%

Артикул

Название

Примечание

Количество

1

84545029

FILTER ASSY

Incl 2, 8, 17, 105, 119, 135

1шт.

2

84273157

FUEL FILTER

Incl 11, 66

1шт.

8

84389367

FILTER HEAD

Incl 56, 94

1шт.

9

426200A1

GASKET

4шт.

11

87379063

GASKET

1шт.

17

87379072

FLOAT

1шт.

56

87596955

PLUG

1шт.

66

87379078

PLUG

1шт.

69

87379797

BOLT

2шт.

94

87596944

BOLT

1шт.

105

87596956

FILTER BOWL

1шт.

106

87379793

SUCTION PIPE

2шт.

119

87386020

PLUG

1шт.

135

84389362

SENSOR

1шт.

Выбрано товаров: 14