Запчасти Case CX235C SR (10.400.04) - ENGINE WATER CIRCUIT - THERMOSTAT (10) - ENGINE

Схема запчастей Case CX235C SR - (10.400.04) - ENGINE WATER CIRCUIT - THERMOSTAT (10) - ENGINE
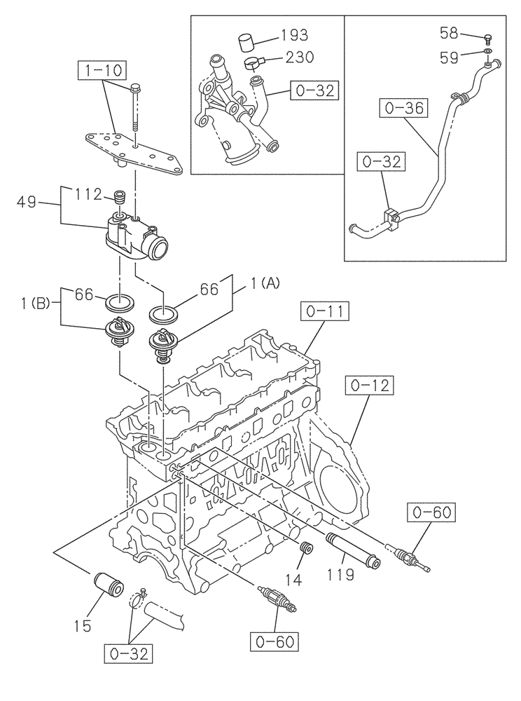
14
66
15
1b
1a
0-60
0-32
0-32
49
119
112
230
193
0-60
0-32
59
1-10
66
0-36
0-12
0-11
58
FIT
1:1
100%

Артикул

Название

Примечание

Количество

0-11

84389356

CYLINDER HEAD,4 Cylinder

1шт.

0-11

47607716R

REMAN-CYLINDER HEAD

Complete With Valves

1шт.

0-11

47607716C

CORE-CYLINDER HEAD

Return Number

1шт.

0-12

84389127

CYLINDER BLOCK,4 Cylinders, W/O Turbocharger

1шт.

0-32

87596490

HOSE

1шт.

0-36

84389379

TUBE

1шт.

0-60

84389010

SENSOR

1шт.

1-10

87597877

BRACKET

1шт.

1a

87596477

THERMOSTAT

Incl 66

1шт.

1b

87596469

THERMOSTAT

Incl 66

1шт.

14

289415A1

PLUG

1шт.

15

87596482

PIPE

1шт.

49

87378562

PIPE

Incl 112

1шт.

58

87729984

PLUG

1шт.

59

76552228

SEAL

1шт.

66

87378564

GASKET

2шт.

112

87379740

PLUG

1шт.

119

76591841

PIPE

1шт.

193

76600494

STRAIGHT PIN

1шт.

230

86990039

CLIP

1шт.

Выбрано товаров: 20