Запчасти Case CX235C SR (35.204.03) - REMOTE CONTROL VALVE (35) - HYDRAULIC SYSTEMS

Схема запчастей Case CX235C SR - (35.204.03) - REMOTE CONTROL VALVE (35) - HYDRAULIC SYSTEMS
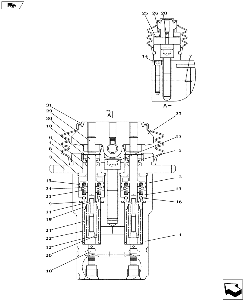
5
19
26
10
4
2
14
30
18
15
6
27
22
1
16
23
24
11
2
9
1
5
13
20
17
28
25
21
12
31
8
29
9
3
7
FIT
1:1
100%

Артикул

Название

Примечание

Количество

0

KHJ19270

CONTROL BLOCK

Incl 3 - 12, 14 - 17, 19, 21 - 32

1шт.

1

NSS

NOT SOLD SEPARAT

No Longer Included in BOM, Remove From Art

1шт.

2

NSS

NOT SOLD SEPARAT

No Longer Included in BOM, Remove From Art

1шт.

3

165211A1

COVER

2шт.

4

165197A1

PLUG

4шт.

5

165210A1

CAP

Grease

4шт.

6

165195A1

SCRAPER RING

Packing

4шт.

7

154455A1

O-RING

2шт.

8

166804A1

O-RING

4шт.

9

LE012930

O-RING

4шт.

10

165229A1

PUSH ROD

4шт.

11

LA00056

WASHER

8шт.

12

LA00057

SET OF WASHERS

4шт.

13

NSS

NOT SOLD SEPARAT

No Longer Included in BOM, Remove From Art

4шт.

14

864-6045

HEX SOC SCREW,M6 x 45mm, Cl 8.8

SOC HD M6X45 8.8 ZND

2шт.

15

165199A1

PISTON

4шт.

16

165200A1

BALL

Steel

12шт.

17

862-12060

HEX SOC SCREW,M12 x 60mm, Cl 12.9

HD M12X60 12.9 ZND

2шт.

18

NSS

NOT SOLD SEPARAT

No Longer Included in BOM, Remove From Art

4шт.

19

165205A1

SPRING SEAT

4шт.

20

NSS

NOT SOLD SEPARAT

No Longer Included in BOM, Remove From Art

4шт.

21

165206A1

SPRING SEAT

4шт.

21

LG00331

COMPRESSION SPRING

4шт.

22

160250A1

SPRING

4шт.

23

165277A1

SPRING

4шт.

24

165208A1

SPRING

4шт.

25

160035A1

BUSHING

4шт.

26

160022A1

SHAFT

Cam

2шт.

27

160090A1

CAM

2шт.

28

LUC0103

SCREW

2шт.

29

160282A1

SCREW

4шт.

30

160281A1

LOCK NUT

Lock

4шт.

31

160001A1

BELLOWS

2шт.

32

160283A1

WASHER

Not Shown

4шт.

Выбрано товаров: 34