Запчасти Case CX250C (08-002[00]) - PUMP ASSY, HYDRAULIC - STANDARD - COUPLING (08) - HYDRAULICS

Схема запчастей Case CX250C - (08-002[00]) - PUMP ASSY, HYDRAULIC - STANDARD - COUPLING (08) - HYDRAULICS
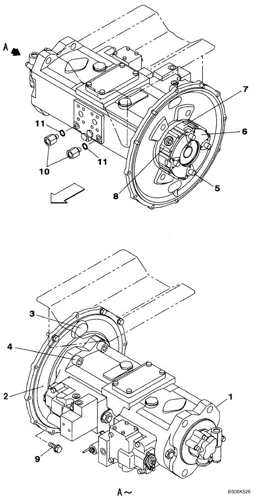
2
11
9
10
3
6
1
4
11
5
7
8
FIT
1:1
100%

Артикул

Название

Примечание

Количество

1

KBJ10510

HYDRAULIC PUMP

See Figure 08-091 - 08-095

1шт.

1

KBJ10510R

REMAN-HYD PUMP

CX250C CRAWLER EXCAVATOR TIER 4 (NA), STANDARD - COUPLING

1шт.

1

KBJ10510C

CORE-HYDRAULIC PUMP

Return Number

1шт.

2

166370A1

FLANGE

Flange

1шт.

3

KHJ2656

GROMMET

2шт.

4

862-20055

HEX SOC SCREW,M20 x 55mm, Cl 12.9

4шт.

5

KRJ10340

COUPLING

Incl. 6 - 8

1шт.

6

NSS

NOT SOLD SEPARAT

Element

1шт.

7

NSS

NOT SOLD SEPARAT

Insert, Coupling

4шт.

8

NSS

NOT SOLD SEPARAT

Insert, Coupling

1шт.

9

166347A1

BOLT,Sems, M10 x 30mm

9шт.

10

KHJ18180

STUD

Incl. 11, Replaces KHJ11380

2шт.

11

154467A1

O-RING,10.8mm ID x 2.4mm Width

1шт.

Выбрано товаров: 13