Запчасти Case CX250C (08-011[00]) - HYDRAULIC CIRCUIT - DIPPER CYLINDER - MONOBLOCK BOOM - 5.85 M (08) - HYDRAULICS

Схема запчастей Case CX250C - (08-011[00]) - HYDRAULIC CIRCUIT - DIPPER CYLINDER - MONOBLOCK BOOM - 5.85 M (08) - HYDRAULICS
4
7
6
10
13
2
13
3
6
12
9
5
3
11
1
8
5
FIT
1:1
100%

Артикул

Название

Примечание

Количество

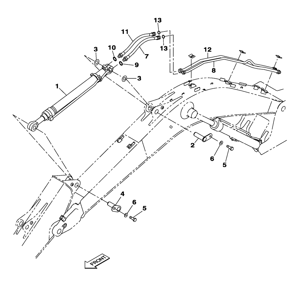
1

KBV11020

HYDRAULIC CYLINDER

1шт.

See Figure(s) 08-302-00 01

1шт.

1

KBV11020R

REMAN-HYD CYLINDER

CX250C CRAWLER EXCAVATOR TIER 4 (NA)

1шт.

1

KBV11020C

CORE-HYD CYLINDER

Return Number

1шт.

2

KBV11541

PIN

1шт.

3

159451A1

SHIM

2шт.

4

KBV23371

PIN

1шт.

5

627-12025

BOLT,Hex, M12 x 1.75 x 25mm, Cl 10.9, Full Thd

2шт.

6

157141A1

WASHER

2шт.

7

KBV23530

HYDRAULIC HOSE

900 mm

1шт.

8

KBV23511

HYD TUBE

1шт.

9

KHJ1360

O-RING,0.07" Thk x 0.739" ID

1шт.

10

KHJ1361

O-RING,0.07" Thk x 0.926" ID

1шт.

11

KRV25340

HYDRAULIC HOSE,900.00 mm

1шт.

12

KBV23521

HYD TUBE

1шт.

13

KHJ1361

O-RING,0.07" Thk x 0.926" ID

2шт.

Выбрано товаров: 16