Запчасти Case CX250C (08-017[02]) - HYDRAULIC CIRCUIT - DIPPER CYLINDER - MONOBLOCK BOOM - 10.30 M - CX250C LR (08) - HYDRAULICS

Схема запчастей Case CX250C - (08-017[02]) - HYDRAULIC CIRCUIT - DIPPER CYLINDER - MONOBLOCK BOOM - 10.30 M - CX250C LR (08) - HYDRAULICS
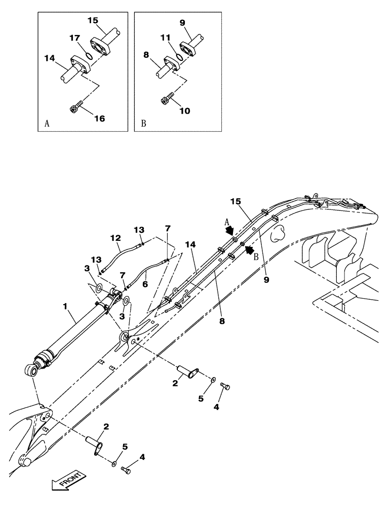
9
11
14
6
1
5
3
4
7
4
15
10
2
13
3
8
5
14
16
15
9
8
17
2
13
12
7
FIT
1:1
100%

Артикул

Название

Примечание

Количество

1

KBV18420

HYDRAULIC CYLINDER

1шт.

See Figure(s) 08-305-00 01

1шт.

1

KBV18420R

REMAN-HYD CYLINDER

CX250C CRAWLER EXCAVATOR TIER 4

1шт.

1

KBV18420C

CORE-HYD CYLINDER

Return Number

1шт.

2

KBV14540

PIN

1шт.

2

KBV19071

PIN

1шт.

3

KBV1629

SHIM

2шт.

4

627-12025

BOLT,Hex, M12 x 1.75 x 25mm, Cl 10.9, Full Thd

2шт.

5

157141A1

WASHER

2шт.

6

KRV12781

HYDRAULIC HOSE

1000 M

1шт.

7

KHJ1360

O-RING,0.07" Thk x 0.739" ID

2шт.

8

KRV2895

HYD TUBE,20.8 mm ID x 27.2 mm OD

L

1шт.

9

KBV26400

PIPE

L

1шт.

10

862-10035

HEX SOC SCREW,M10 x 35mm, Cl 12.9

4шт.

11

154528A1

O-RING

1шт.

12

KRV35020

HYDRAULIC HOSE,25.4mm ID x 1000mm L

1000 M

1шт.

13

KHJ1361

O-RING,0.07" Thk x 0.926" ID

2шт.

14

KRV2894

HYD TUBE,26 mm ID x 34 mm OD

R

1шт.

15

KBV16950

HYD TUBE

R

1шт.

16

862-10045

HEX SOC SCREW,M10 x 45mm, Cl 12.9

4шт.

17

154548A1

O-RING

1шт.

Выбрано товаров: 21