Запчасти Case CX250C (08-017[03]) - HYDRAULIC CIRCUIT - DIPPER CYLINDER - MONOBLOCK BOOM - 10.30 M - CX250C LR (08) - HYDRAULICS

Схема запчастей Case CX250C - (08-017[03]) - HYDRAULIC CIRCUIT - DIPPER CYLINDER - MONOBLOCK BOOM - 10.30 M - CX250C LR (08) - HYDRAULICS
7
19
11
20
14
33
1
12
10
13
9
32
18
20
21
19
16
9
17
14
13
10
18
8
22
30
12
8
38
34
15
FIT
1:1
100%

Артикул

Название

Примечание

Количество

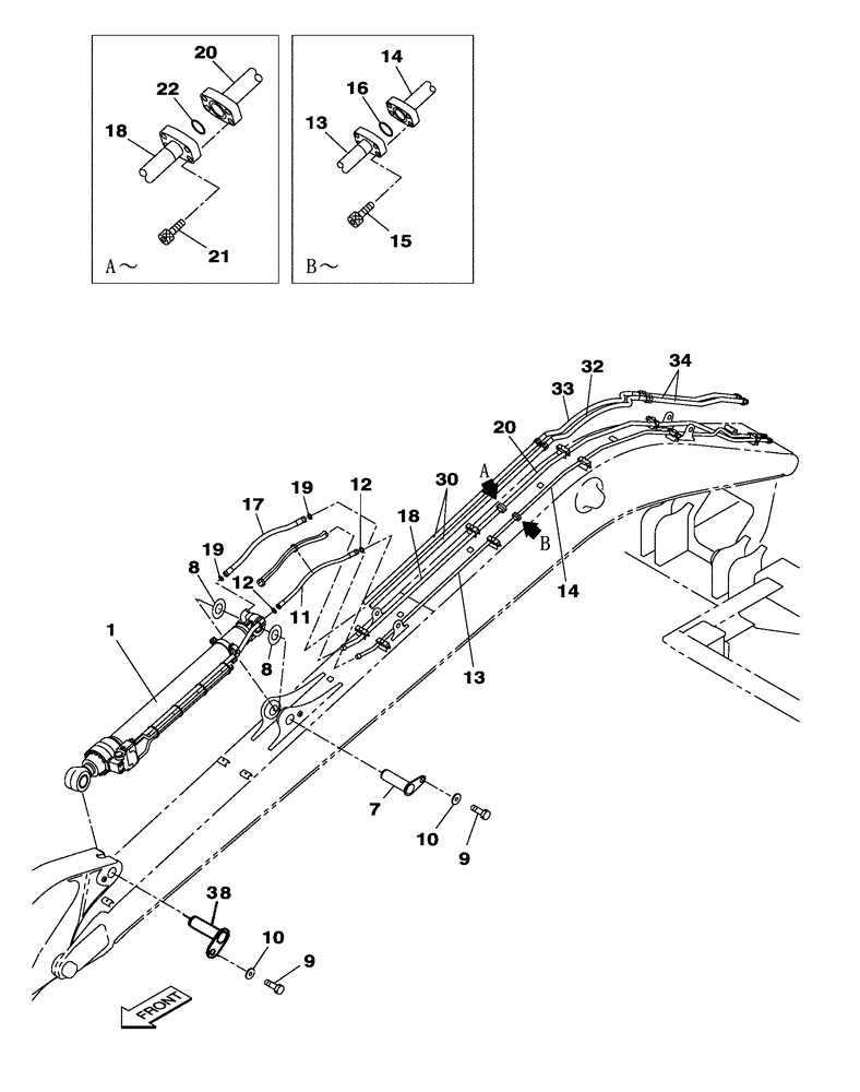
1

KBV18440

HYDRAULIC CYLINDER

1шт.

See Figure(s) 08-017-03 01

1шт.

1

KBV18440R

REMAN-HYD CYLINDER

CX250C CRAWLER EXCAVATOR TIER 4 (NA)

1шт.

1

KBV18440C

CORE-HYD CYLINDER

Return Number

1шт.

7

KBV14540

PIN

1шт.

8

KBV1629

SHIM

2шт.

9

627-12025

BOLT,Hex, M12 x 1.75 x 25mm, Cl 10.9, Full Thd

2шт.

10

157141A1

WASHER

2шт.

11

KRV12781

HYDRAULIC HOSE

1шт.

12

KHJ1360

O-RING,0.07" Thk x 0.739" ID

2шт.

13

KRV2895

HYD TUBE,20.8 mm ID x 27.2 mm OD

L

1шт.

14

KBV26400

PIPE

L

1шт.

15

862-10035

HEX SOC SCREW,M10 x 35mm, Cl 12.9

4шт.

16

154528A1

O-RING

1шт.

17

KRV35020

HYDRAULIC HOSE,25.4mm ID x 1000mm L

1шт.

18

KRV2894

HYD TUBE,26 mm ID x 34 mm OD

R

1шт.

19

KHJ1361

O-RING,0.07" Thk x 0.926" ID

2шт.

20

KBV16950

HYD TUBE

R

1шт.

21

862-10045

HEX SOC SCREW,M10 x 45mm, Cl 12.9

4шт.

22

154548A1

O-RING

1шт.

30

KBV17070

HYD TUBE

2шт.

32

KHJ1694

HYDRAULIC HOSE

1250 M

1шт.

33

KHJ1694

HYDRAULIC HOSE

1250 M

1шт.

34

KBV17060

HYD TUBE

2шт.

38

KBV19071

PIN

1шт.

Выбрано товаров: 25