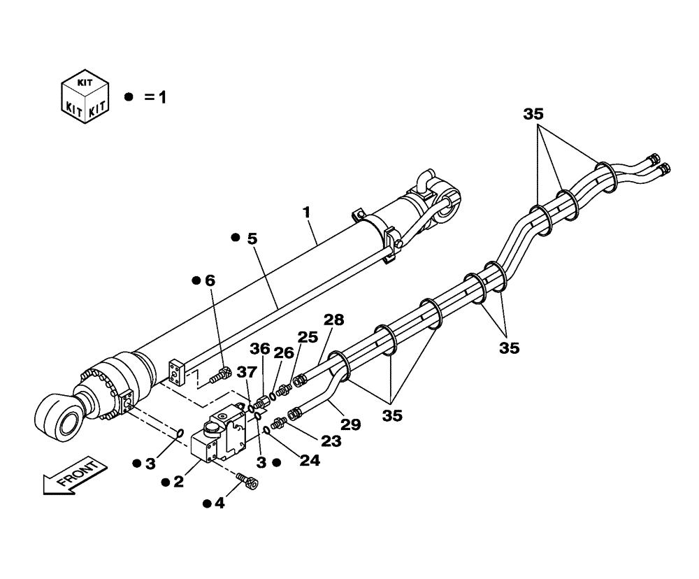
Запчасти Case CX250C (08-017[04]) - HYDRAULIC CIRCUIT - DIPPER CYLINDER - MONOBLOCK BOOM - 10.30 M - CX250C LR (08) - HYDRAULICS

Схема запчастей Case CX250C - (08-017[04]) - HYDRAULIC CIRCUIT - DIPPER CYLINDER - MONOBLOCK BOOM - 10.30 M - CX250C LR (08) - HYDRAULICS
1
3
1
29
28
1
1
36
25
35
3
24
23
2
6
26
35
1
5
35
1
37
4
1
1
FIT
1:1
100%

Артикул

Название

Примечание

Количество

1

KBV18440

HYDRAULIC CYLINDER

1шт.

Include(s) 2 - 6; See Figure(s) 08-304-00 01

1шт.

1

KBV18440R

REMAN-HYD CYLINDER

CX250C CRAWLER EXCAVATOR TIER 4 (NA)

1шт.

1

KBV18440C

CORE-HYD CYLINDER

Return Number

1шт.

2

KRV11120

VALVE SECTION

Replaced by KSV17260

1шт.

See Figure(s) 08-401-00 01

1шт.

2

KSV17260

SAFETY VALVE

1шт.

3

155211A1

O-RING

2шт.

4

862-12070

HEX SOC SCREW,M12 x 70mm, Cl 12.9

4шт.

5

KBV18380

HYD TUBE

1шт.

6

862-12035

HEX SOC SCREW,M12 x 35mm, Cl 12.9

4шт.

23

152128A1

HYD CONNECTOR,3/8" NPT O-Ring x 3/8" NPT

1шт.

Include(s) 24

1шт.

24

154475A1

O-RING

1шт.

25

152747A1

ADAPTER

1шт.

Include(s) 26

1шт.

26

154467A1

O-RING,10.8mm ID x 2.4mm Width

1шт.

28

168852A1

HYDRAULIC HOSE,3100.00 mm

1шт.

29

168852A1

HYDRAULIC HOSE,3100.00 mm

1шт.

35

150067A1

MOUNTING CLIP

12шт.

36

162525A1

STUD

1шт.

Include(s) 37

1шт.

37

150960A1

O-RING,10.8mm ID x 2.4mm Width

1шт.

Выбрано товаров: 23