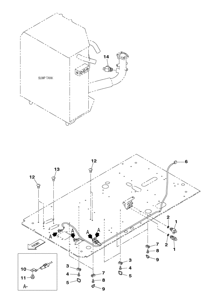
Запчасти Case CX250C (08-041[00]) - HYDRAULIC CIRCUIT - PLUG, BLANK-OFF - OPTIONAL (08) - HYDRAULICS

Схема запчастей Case CX250C - (08-041[00]) - HYDRAULIC CIRCUIT - PLUG, BLANK-OFF - OPTIONAL (08) - HYDRAULICS
6
5
9
5
8
12
12
14
8
7
13
1
10
9
3
1
3
4
4
11
2
2
7
FIT
1:1
100%

Артикул

Название

Примечание

Количество

1

159497A1

TEE

2шт.

Include(s) 2

1шт.

2

154467A1

O-RING,10.8mm ID x 2.4mm Width

1шт.

3

150860A1

COLLAR

3шт.

4

840-168

SCREW,Pan, M6 x 1 x 8mm, Cl 4.8

M6 x 8

3шт.

5

150496A1

MOUNTING CLIP

250 mm

3шт.

6

KHR28600

WIRE HARNESS

1шт.

7

150860A1

COLLAR

4шт.

8

840-168

SCREW,Pan, M6 x 1 x 8mm, Cl 4.8

M6 x 8

4шт.

9

150496A1

MOUNTING CLIP

250 mm

4шт.

10

158962A1

CLIP

4шт.

11

166345A1

BOLT

M8 x 16

4шт.

12

KHJ15060

CAP

4шт.

13

KHJ15080

CAP

1шт.

14

KHJ23010

TEE

1шт.

Выбрано товаров: 15