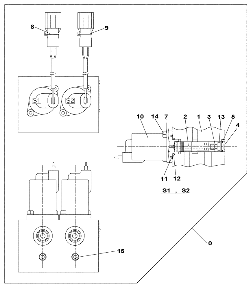
Запчасти Case CX250C (08-062[00]) - VALVE SOLENOIDE (08) - HYDRAULICS

Схема запчастей Case CX250C - (08-062[00]) - VALVE SOLENOIDE (08) - HYDRAULICS
14
5
0
8
12
13
15
11
7
1
9
2
3
10
4
FIT
1:1
100%

Артикул

Название

Примечание

Количество

0

KHJ14780

VALVE SECTION

1шт.

Include(s) 1 - 15

1шт.

1

NSS

NOT SOLD SEPARAT

1шт.

2

NSS

NOT SOLD SEPARAT

2шт.

3

LG006010

COMPRESSION SPRING

2шт.

4

LR015080

ADAPTER

2шт.

5

LA010960

SNAP RING

2шт.

7

LA010970

SPRING WASHER

4шт.

8

LD001470

COLLAR

Blue

1шт.

9

LD001450

COLLAR

Red

1шт.

10

LL001140

SOLENOID

2шт.

Include(s) 11, 12

1шт.

11

155188A1

O-RING

1шт.

12

154487A1

O-RING

1шт.

13

154463A1

O-RING

2шт.

14

LA010980

BOLT,Hex Skt Hd

4шт.

15

LK005630

PLUG

2шт.

Выбрано товаров: 17