Запчасти Case CX250C (09-004[00]) - COUNTERWEIGHT - SOUNDPROOFING (09) - CHASSIS/ATTACHMENTS

Схема запчастей Case CX250C - (09-004[00]) - COUNTERWEIGHT - SOUNDPROOFING (09) - CHASSIS/ATTACHMENTS
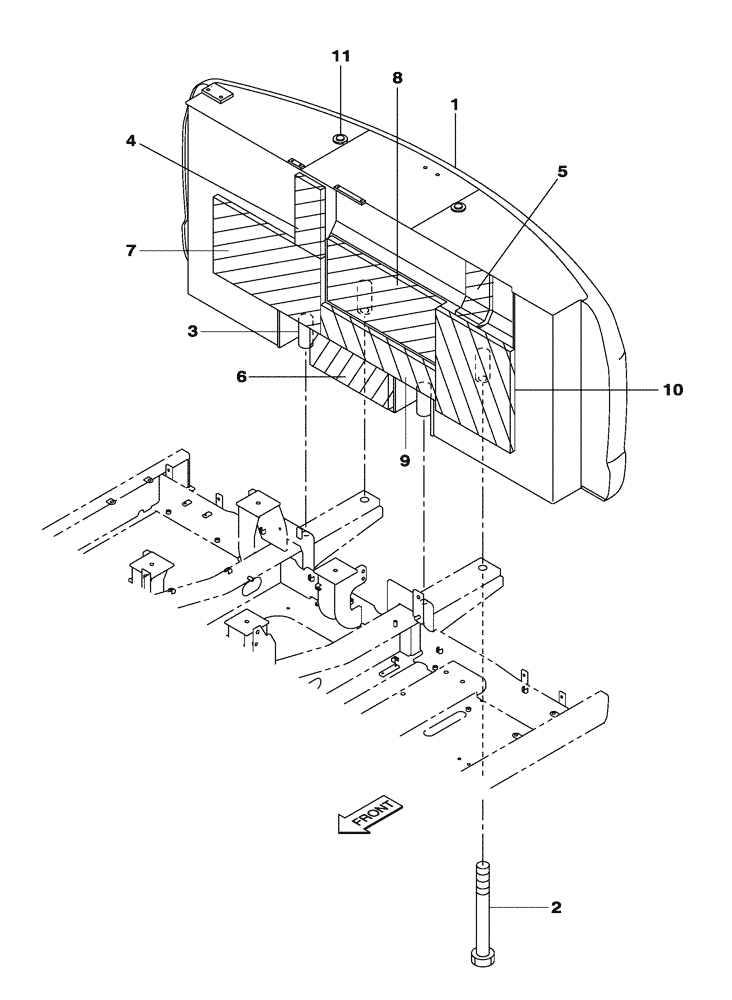
9
5
8
11
6
1
10
3
2
7
4
FIT
1:1
100%

Артикул

Название

Примечание

Количество

1

KBB13990Y2

COUNTERWEIGHT

1шт.

2

KHB10390

BOLT

4шт.

1

Counterweight Lifting Eye Not Serviced - Thread size M42 pitch 4.5mm - length 70mm

1шт.

3

KRB10590

SPACER

4шт.

4

KBB14130

INSULATION

1шт.

5

KBB13650

INSULATION

1шт.

6

KBB11690

NOISE PROTECTION

1шт.

7

KBB14140

INSULATION

1шт.

8

KBB14150

INSULATION

1шт.

9

KBB14160

INSULATION

1шт.

10

KBB14170

INSULATION

1шт.

11

KHB0321

PLUG

2шт.

Выбрано товаров: 0