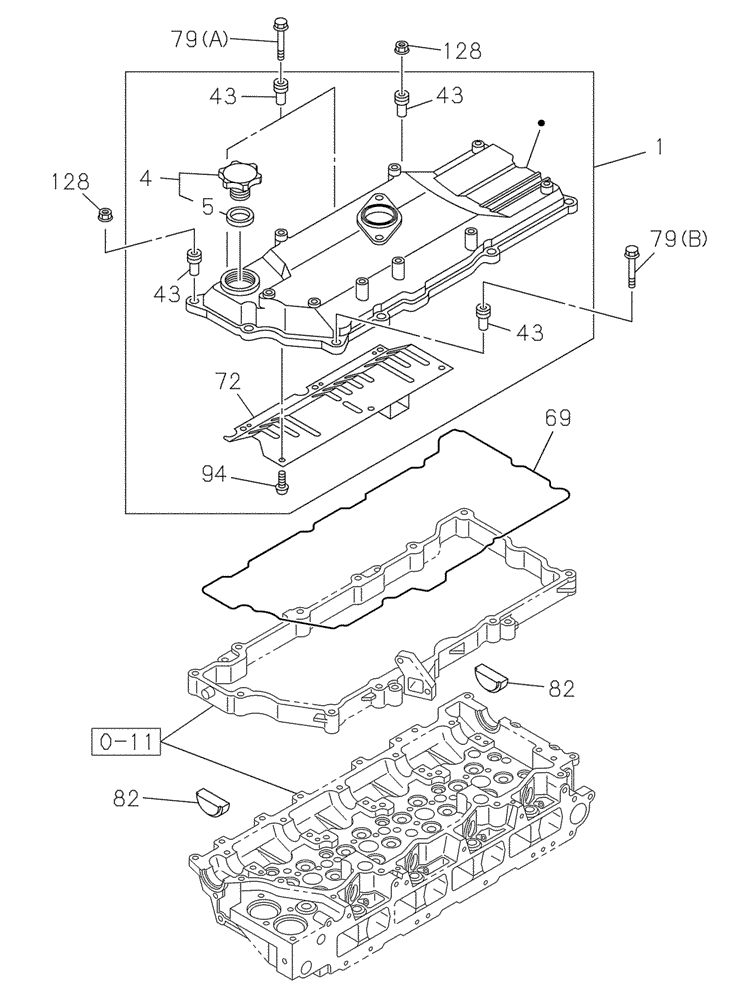
Запчасти Case CX250C (02-006[00]) - COVER - CYLINDER HEAD (02) - ENGINE

Схема запчастей Case CX250C - (02-006[00]) - COVER - CYLINDER HEAD (02) - ENGINE
82
94
43
43
43
79 a
1
128
5
82
69
72
0-11
128
79 b
1
43
4
FIT
1:1
100%

Артикул

Название

Примечание

Количество

0-11

84389356

CYLINDER HEAD,4 Cylinder

1шт.

See Figure(s) 02-011-01 01

1шт.

0-11

47607716R

REMAN-CYLINDER HEAD

Complete With Valves

1шт.

0-11

47607716C

CORE-CYLINDER HEAD

Return Number

1шт.

1

87595244

VALVE COVER

1шт.

Include(s) 4, 43, 72, 94

1шт.

4

288798A1

FILLER CAP

1шт.

Include(s) 5

1шт.

5

72109500

OIL SEAL

1шт.

43

87384321

RUBBER SEAL

11шт.

69

87595255

GASKET

1шт.

72

438070A1

PLATE

1шт.

79a

87595258

BOLT

2шт.

79b

87595261

BOLT

7шт.

82

84389046

PLUG

2шт.

94

87595263

SCREW

6шт.

128

87595271

NUT

2шт.

Выбрано товаров: 17