Запчасти Case CX250C (02-007[01]) - CYLINDER HEAD (02) - ENGINE

Схема запчастей Case CX250C - (02-007[01]) - CYLINDER HEAD (02) - ENGINE
23
3 b
59
0-14
24 b
0-25
23
7 c
201
58 b
3 a
24 b
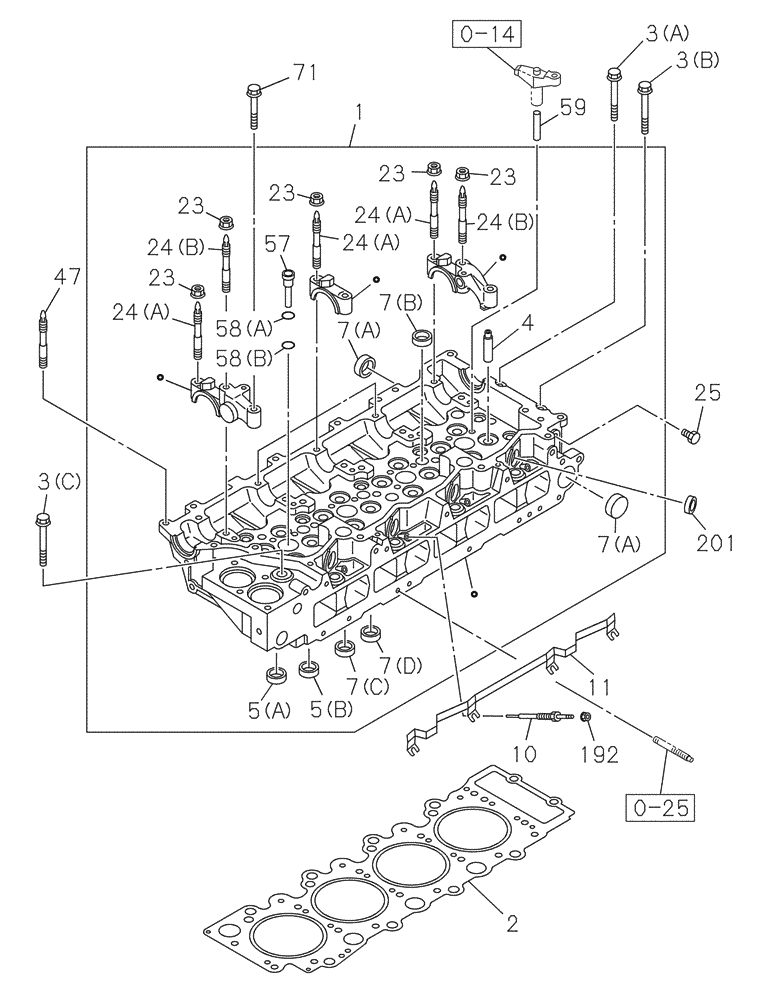
1
10
1
2
24 a
57
5 a
11
58 a
5 b
7 d
1
1
23
3 c
4
23
24 a
7 b
47
7 a
7 a
192
24 a
71
23
1
25
FIT
1:1
100%

Артикул

Название

Примечание

Количество

0-14

72215982

BLOCK

1шт.

See Figure(s) 02-014-01 01

1шт.

0-25

87596059

STUD

1шт.

See Figure(s) 02-025-01 01

1шт.

1

84389356

CYLINDER HEAD,4 Cylinder

1шт.

Include(s) 4, 5A, 5B, 7A - 7D, 23, 24A, 24B, 57, 58A, 58B, Also See Figure(s) 02-011-02 01

1шт.

1

47607716R

REMAN-CYLINDER HEAD

Complete With Valves

1шт.

1

47607716C

CORE-CYLINDER HEAD

Return Number

1шт.

2

84389438

CYLINDER HEAD GASKET

1шт.

3a

438152A1

BOLT

1шт.

3b

438153A1

BOLT

1шт.

3c

87595398

BOLT

18шт.

4

87601204

VALVE GUIDE

16шт.

5a

84388076

VALVE SEAT

8шт.

5b

84140896

VALVE SEAT

8шт.

7a

87595408

CUPEL

5шт.

7b

289076A1

CUP

4шт.

7c

71455287

PLUG

7шт.

7d

353962A1

PLUG

5шт.

10

438043A1

HEATER COIL

4шт.

11

87595410

ELEC CONNECTOR

1шт.

23

87595428

NUT

10шт.

24a

438026A1

STUD

8шт.

24b

438025A1

STUD

2шт.

25

87377930

PLUG

1шт.

47

87595430

STUD

2шт.

57

87528150

NOZZLE HOLDER

4шт.

58a

87377928

GASKET

4шт.

58b

87377929

GASKET

4шт.

59

87379448

GUIDE

8шт.

71

87595463

BOLT

2шт.

192

87595807

NUT

4шт.

201

72109532

SEAL

4шт.

Выбрано товаров: 33