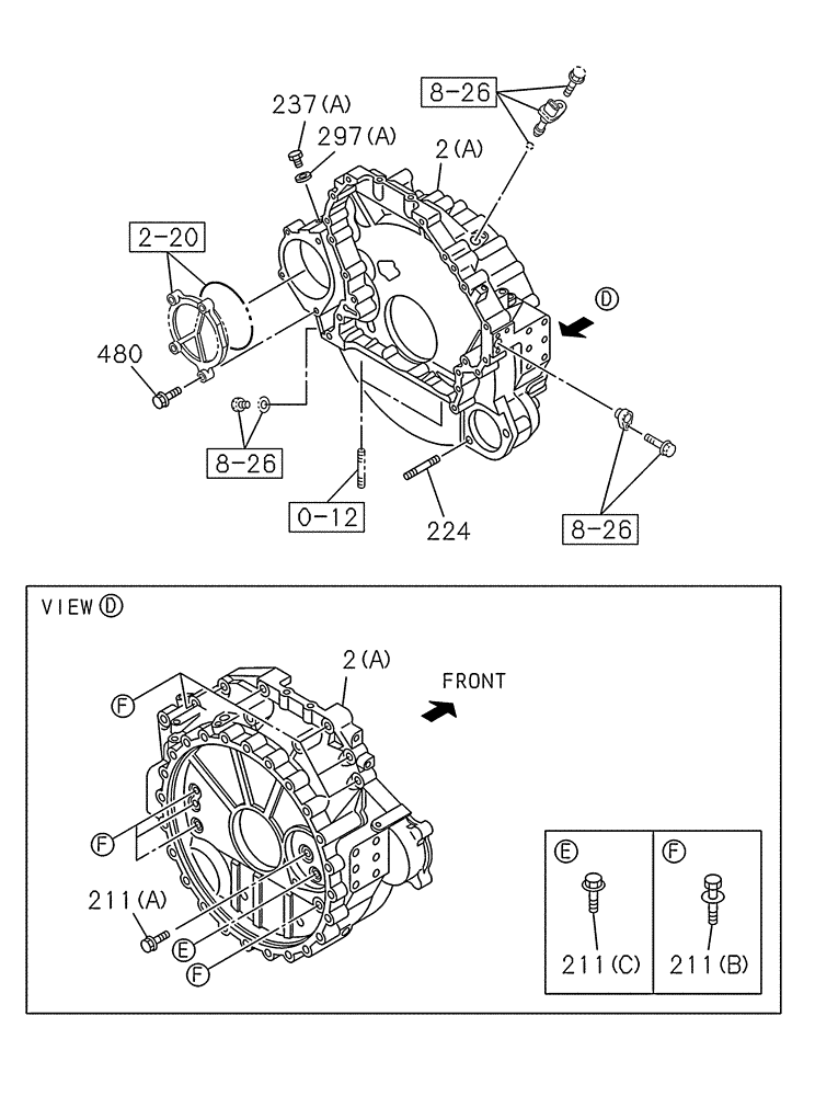
Запчасти Case CX250C (02-012[02]) - ENGINE FLYWHEEL HOUSING (02) - ENGINE

Схема запчастей Case CX250C - (02-012[02]) - ENGINE FLYWHEEL HOUSING (02) - ENGINE
297 a
8-26
211 b
2 a
224
480
237 a
211 a
2 a
8-26
211 c
0-12
8-26
FIT
1:1
100%

Артикул

Название

Примечание

Количество

0-12

87595844

STUD

1шт.

See Figure(s) 02-012-02 01

1шт.

2-20

87393870

COVER

1шт.

See Figure(s) 02-220-01 01

1шт.

8-26

84387716

PLUG

1шт.

See Figure(s) 02-826-01 01

1шт.

2a

84389338

HOUSING

1шт.

211a

87596013

BOLT

1шт.

211b

87596027

BOLT

11шт.

211c

87596028

BOLT

1шт.

224

87596029

STUD

2шт.

237a

355640A1

BOLT

1шт.

297a

289091A1

PACKING

1шт.

480

71456259

SCREW

3шт.

Выбрано товаров: 0