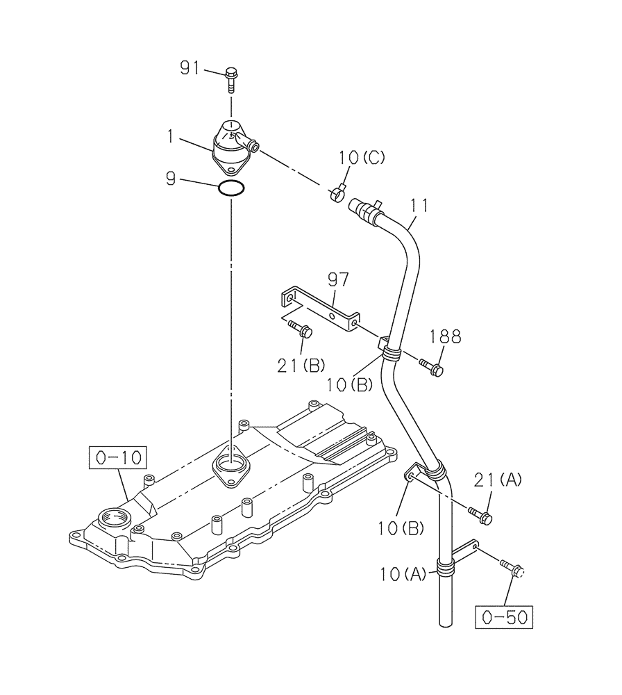
Запчасти Case CX250C (02-015[00]) - BREATHER (02) - ENGINE

Схема запчастей Case CX250C - (02-015[00]) - BREATHER (02) - ENGINE
10 b
0-10
10 b
21 a
21 b
1
91
10 c
9
188
11
97
0-50
10 a
FIT
1:1
100%

Артикул

Название

Примечание

Количество

0-10

87595244

VALVE COVER

1шт.

See Figure(s) 02-010-01 01

1шт.

0-50

87597043

BOLT

1шт.

See Figure(s) 02-050-01 01

1шт.

1

426076A1

BREATHER

1шт.

9

72110327

SEAL

1шт.

10a

87378559

CLIP

2шт.

10b

426078A1

CLIP

1шт.

10c

84388056

CLIP

1шт.

11

84388068

INTAKE AIR HOSE

1шт.

21a

87595866

BOLT

1шт.

21b

87596423

BOLT

1шт.

91

87596428

BOLT

2шт.

97

87380219

BRACKET

1шт.

188

87597950

BOLT

1шт.

Выбрано товаров: 0