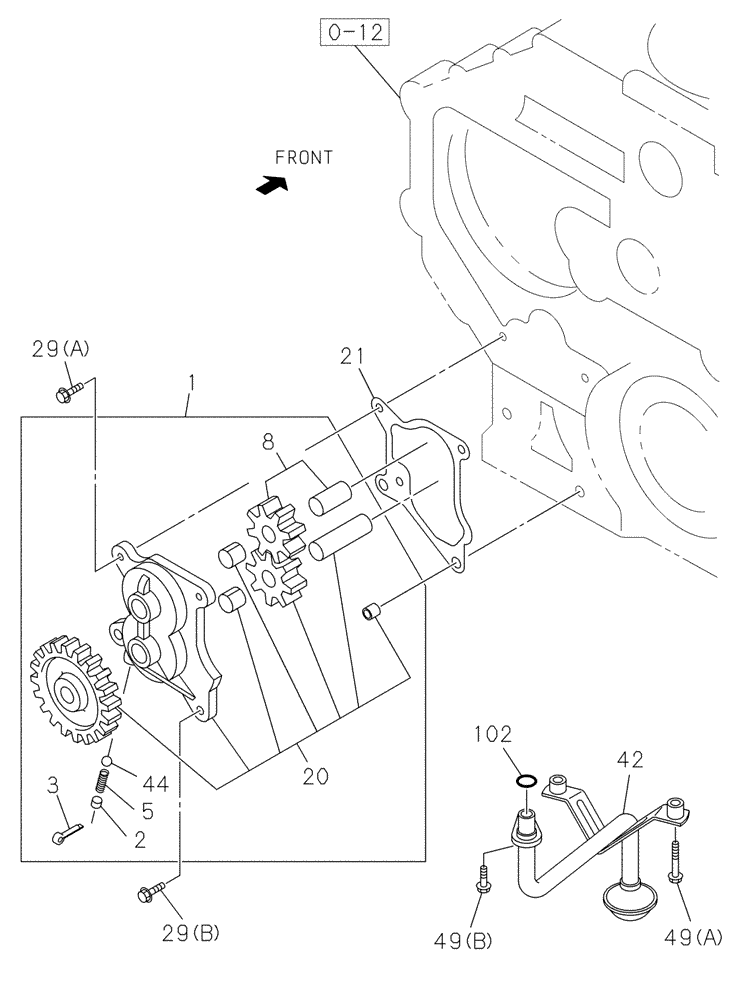
Запчасти Case CX250C (02-023[00]) - OIL PUMP (02) - ENGINE

Схема запчастей Case CX250C - (02-023[00]) - OIL PUMP (02) - ENGINE
29a
49b
0-12
49a
102
42
5
2
44
29b
20
21
8
1
FIT
1:1
100%

Артикул

Название

Примечание

Количество

0-12

REF

INSTRUCTION

1шт.

See Figure(s) 02-012-01 01

1шт.

1

87597079

ENGINE OIL PUMP

1шт.

Include(s) 2, 3, 5, 8, 20, 44

1шт.

1

87597079R

REMAN-ENG OIL PUMP

CX250C CRAWLER EXCAVATOR TIER 4 (NA)

1шт.

1

87597079C

CORE-ENGINE OIL PUMP

Return Number

1шт.

2

71456972

SEAT/SLOT

1шт.

3

87380147

COTTER PIN

1шт.

5

289413A1

SPRING

1шт.

8

72109804

GEAR

1шт.

20

87597111

REPAIR KIT

1шт.

21

87597113

GASKET

1шт.

29a

87597122

BOLT

2шт.

29b

87597123

BOLT

2шт.

42

84211520

FILTER STRAINER

1шт.

44

289435A1

BALL

1шт.

49a

87595884

BOLT

2шт.

49b

87597125

BOLT

1шт.

102

87380148

GASKET

1шт.

Выбрано товаров: 0