Запчасти Case CX250C (04-009[00]) - ELECTRICAL CIRCUIT (04) - ELECTRICAL SYSTEMS

Схема запчастей Case CX250C - (04-009[00]) - ELECTRICAL CIRCUIT (04) - ELECTRICAL SYSTEMS
10
10
2
10
5
2
8
10
3
10
6
1
4
7
10
10
9
10
FIT
1:1
100%

Артикул

Название

Примечание

Количество

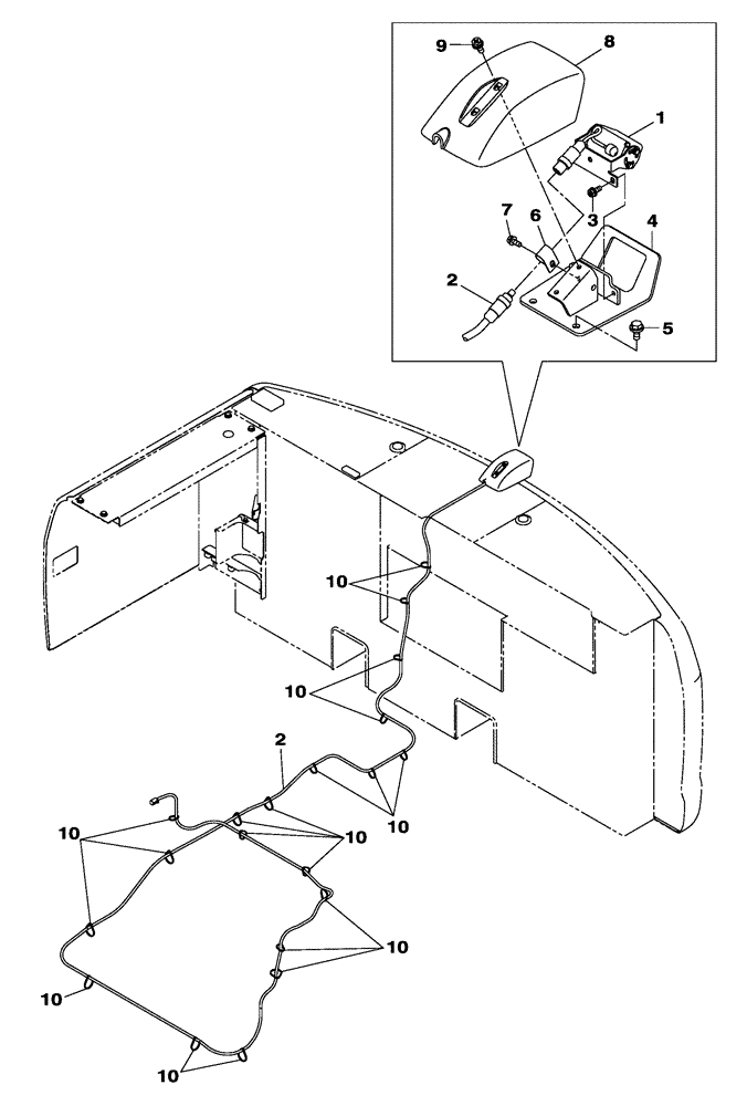
1

KHR23830

VIDEO CAMERA

1шт.

2

KHR28650

WIRE HARNESS

1шт.

3

KHN2132

BOLT,Hex Flg Hd, M6 x 16

2шт.

4

KHR28630B1

BRACKET, SUPPORTING

1шт.

5

166350A1

BOLT

M8 x 20

2шт.

6

157806A1

COLLAR

1шт.

7

KHN2132

BOLT,Hex Flg Hd, M6 x 16

1шт.

8

KHR28640

COVER

1шт.

9

KHN2132

BOLT,Hex Flg Hd, M6 x 16

2шт.

10

150496A1

MOUNTING CLIP

250 mm

20шт.

Выбрано товаров: 10