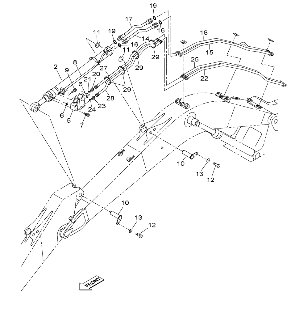
Запчасти Case CX300C (08-019-00[01]) - HYDRAULIC CIRCUIT - DIPPER CYLINDER - WITH SAFETY VALVE (08) - HYDRAULICS

Схема запчастей Case CX300C - (08-019-00[01]) - HYDRAULIC CIRCUIT - DIPPER CYLINDER - WITH SAFETY VALVE (08) - HYDRAULICS
18
14
2
29
8
27
20
11
17
21
12
13
9
16
22
23
6
10
19
13
18
25
11
16
7
6
19
29
10
28
5
24
29
12
FIT
1:1
100%

Артикул

Название

Примечание

Количество

2

KBV13630

HYDRAULIC CYLINDER

1шт.

See Figure(s) 08-302-01 01

1шт.

5

KRV11120

VALVE SECTION

Replaced by KSV17260

1шт.

See Figure(s) 08-401-00 01

1шт.

5

KSV17260

SAFETY VALVE

1шт.

6

155211A1

O-RING

2шт.

7

862-12070

HEX SOC SCREW,M12 x 70mm, Cl 12.9

4шт.

8

KBV15090

HYD TUBE

1шт.

9

862-12035

HEX SOC SCREW,M12 x 35mm, Cl 12.9

4шт.

10

KBV14540

PIN

2шт.

11

KBV1629

SHIM

2шт.

12

627-12025

BOLT,Hex, M12 x 1.75 x 25mm, Cl 10.9, Full Thd

2шт.

13

157141A1

WASHER

2шт.

14

KRV35020

HYDRAULIC HOSE,25.4mm ID x 1000mm L

1шт.

15

KBV14550

HYD TUBE

1шт.

16

KHJ1361

O-RING,0.07" Thk x 0.926" ID

2шт.

17

KRV35020

HYDRAULIC HOSE,25.4mm ID x 1000mm L

1шт.

18

KBV14560

HYD TUBE

1шт.

19

KHJ1361

O-RING,0.07" Thk x 0.926" ID

2шт.

20

152747A1

ADAPTER

1шт.

Include(s) 21

1шт.

21

154467A1

O-RING,10.8mm ID x 2.4mm Width

1шт.

22

KBV15080

HYD TUBE

1шт.

23

152128A1

HYD CONNECTOR,3/8" NPT O-Ring x 3/8" NPT

1шт.

Include(s) 24

1шт.

24

154475A1

O-RING

1шт.

25

KBV15080

HYD TUBE

1шт.

27

KHJ16320

HYDRAULIC HOSE

2850 mm

1шт.

28

KHJ16330

HYDRAULIC HOSE

2900 mm

1шт.

29

150067A1

MOUNTING CLIP

150 mm

7шт.

Выбрано товаров: 30