Запчасти Case CX300C (09-004-00[01]) - COUNTERWEIGHT - SOUNDPROOFING (09) - CHASSIS/ATTACHMENTS

Схема запчастей Case CX300C - (09-004-00[01]) - COUNTERWEIGHT - SOUNDPROOFING (09) - CHASSIS/ATTACHMENTS
3
8
2
1
6
7
4
9
5
FIT
1:1
100%

Артикул

Название

Примечание

Количество

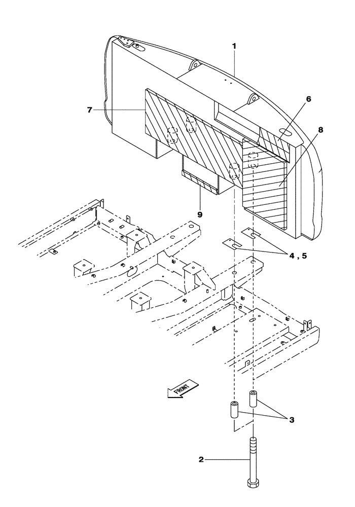
1

KBB13480Y2

WEIGHT PACKAGE

1шт.

2

KHB10390

BOLT

M33 x 250

4шт.

3

KRB10590

SPACER

4шт.

4

KSB0864

SPACER

0.8

1шт.

5

KSB0865

SPACER

1.2

1шт.

6

KMN1847

FOAM INSULATION

1шт.

7

KRB1631

FOAM INSULATION

1шт.

8

KBB0886

NOISE PROTECTION

1шт.

9

KBB11720

NOISE PROTECTION

1шт.

Выбрано товаров: 9