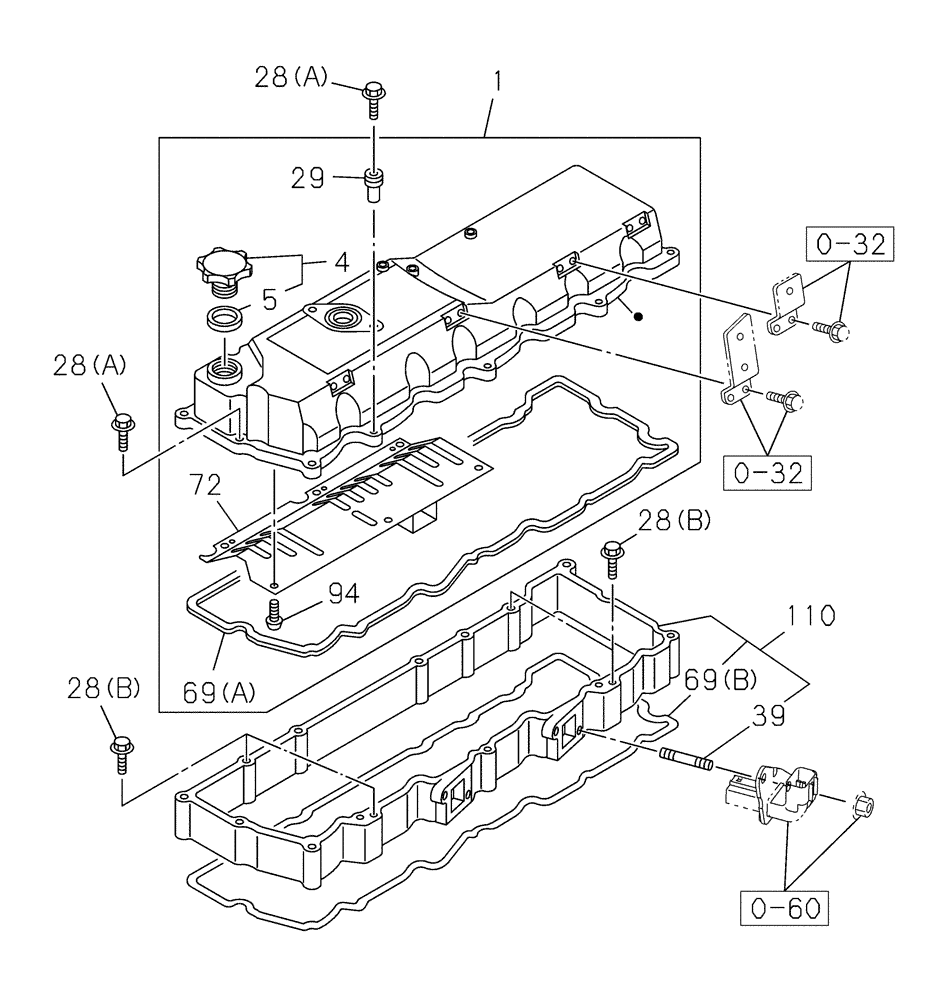
Запчасти Case CX300C (02-010-01[01]) - COVER - CYLINDER HEAD (02) - ENGINE

Схема запчастей Case CX300C - (02-010-01[01]) - COVER - CYLINDER HEAD (02) - ENGINE
110
28 b
72
4
0-32
28 a
0-32
28 a
0-60
39
69 b
69 a
94
29
5
28 b
1
1
FIT
1:1
100%

Артикул

Название

Примечание

Количество

0-32

87595866

BOLT

1шт.

See Figure(s) 02-032-02 01

1шт.

0-60

87380194

FITTING

1шт.

See Figure(s) 04-060-03 01

1шт.

1

84389021

VALVE COVER

1шт.

Include(s) 4, 29, 69A, 72, 94

1шт.

4

288798A1

FILLER CAP

1шт.

Include(s) 5

1шт.

5

72109500

OIL SEAL

1шт.

28a

87595806

BOLT

11шт.

28b

87596527

BOLT

4шт.

29

87432192

GROMMET

11шт.

39

438130A1

STUD

M8 x 38

4шт.

69a

438052A1

GASKET

1шт.

69b

87377907

GASKET

1шт.

72

438070A1

PLATE

1шт.

94

87595263

SCREW

6шт.

110

87377915

VALVE COVER

1шт.

Include(s) 39, 69B

1шт.

Выбрано товаров: 19