Запчасти Case CX300C (09-314-00[01]) - DITCH CLEANING BUCKET (1010L - 2.20M) (09) - CHASSIS/ATTACHMENTS

Схема запчастей Case CX300C - (09-314-00[01]) - DITCH CLEANING BUCKET (1010L - 2.20M) (09) - CHASSIS/ATTACHMENTS
2
10
11
11
3
13
7
8
5
14
9
12
6
4
1
2
2
6
14
1
10
FIT
1:1
100%

Артикул

Название

Примечание

Количество

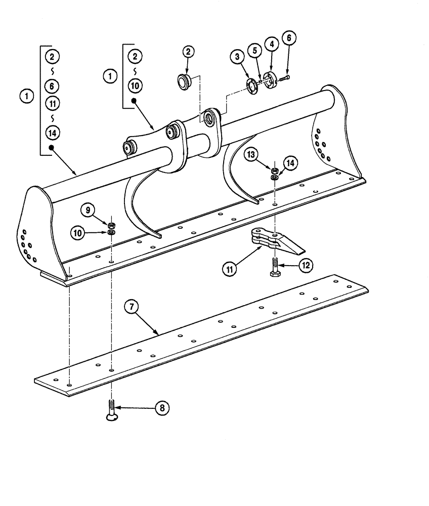
1

NSS

NOT SOLD SEPARAT

1шт.

Bucket With Blade, See Sales Department, Include(s) 2 - 10

1шт.

1

NSS

NOT SOLD SEPARAT

1шт.

Bucket With Tooth, See Sales Department, Include(s) 2 - 6, 11 - 14

1шт.

2

432393A1

BUSHING

1шт.

3

432390A1

SHIM

0,50 mm

1шт.

3

432391A1

SHIM

1,00 mm

1шт.

4

432392A1

CAP

1шт.

5

432428A1

PIN

1шт.

6

G532916

SCREW,Hex Skt Hd, M16 x 50mm, Cl 10.9

4шт.

7

448000A1

BLADE

1шт.

8

450287A1

BOLT

M16 x 60; 10

18шт.

9

R34193

NUT

M16; 10

18шт.

10

892-11016

LOCK WASHER,16.4mm ID x 27.4mm OD x 5mm Thk

18шт.

11

447995A1

TEETH

9шт.

12

Z1133899

SCREW

M16 x 70

18шт.

13

R34193

NUT

M16; 10

18шт.

14

892-11016

LOCK WASHER,16.4mm ID x 27.4mm OD x 5mm Thk

18шт.

Выбрано товаров: 18