Запчасти Case CX300C (04-060-03[01]) - ELECTRICAL ACCESSORIES - ENGINE (04) - ELECTRICAL SYSTEMS

Схема запчастей Case CX300C - (04-060-03[01]) - ELECTRICAL ACCESSORIES - ENGINE (04) - ELECTRICAL SYSTEMS
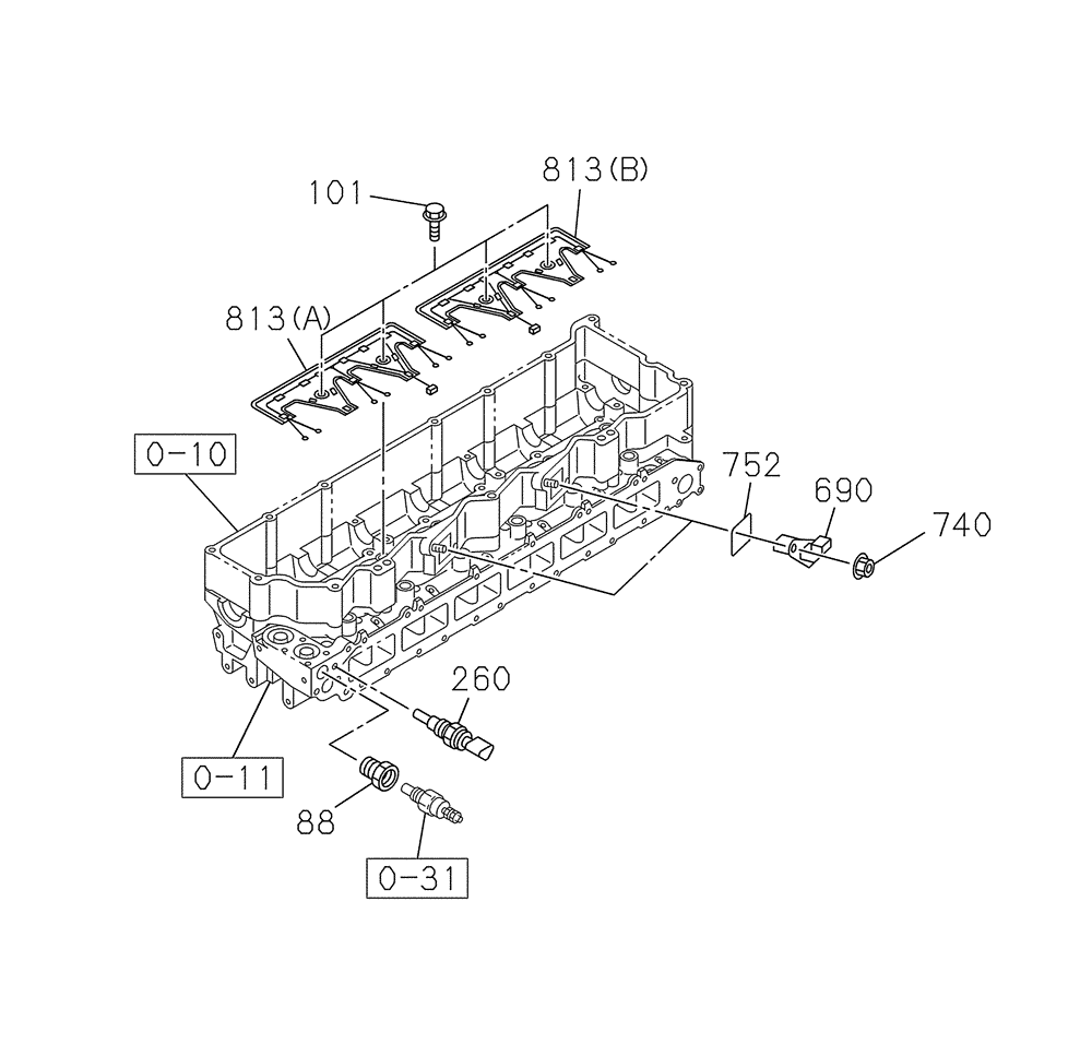
0-10
690
740
101
752
813 a
0-11
813 b
0-31
88
260
FIT
1:1
100%

Артикул

Название

Примечание

Количество

0-10

87377915

VALVE COVER

1шт.

See Figure(s) 02-011-01 01

1шт.

0-11

84388037

CYLINDER HEAD,6 Cylinder

1шт.

See Figure(s) 02-011-01 01

1шт.

0-11

47607715R

REMAN-CYLINDER HEAD

Complete With Valves

1шт.

0-11

47607715C

CORE-CYLINDER HEAD

Return Number

1шт.

0-31

289737A1

SENSOR

1шт.

See Figure(s) 02-031-01 01

1шт.

88

72109828

ADAPTER

1шт.

101

87595822

BOLT

4шт.

260

84394444

SENSOR

1шт.

Water

1шт.

690

87380194

FITTING

2шт.

740

87595271

NUT

4шт.

752

87379336

GASKET

2шт.

813a

84410059

WIRE HARNESS

1шт.

813b

84410059

WIRE HARNESS

1шт.

898

84388065

SENSOR

Boost Pressure

1шт.

Not Illustrated

1шт.

Выбрано товаров: 19