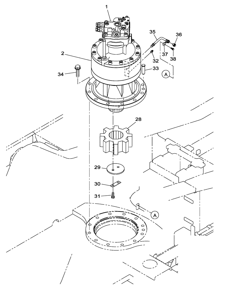
Запчасти Case CX350C (06-002[00]) - SWING MOTOR-DRIVE REDUCTION GEAR (06) - POWER TRAIN

Схема запчастей Case CX350C - (06-002[00]) - SWING MOTOR-DRIVE REDUCTION GEAR (06) - POWER TRAIN
28
37
35
33
36
34
2
32
38
31
30
1
29
FIT
1:1
100%

Артикул

Название

Примечание

Количество

1

KSC10070

HYDRAULIC MOTOR

1шт.

See Figure(s) 08-220-00 01

1шт.

1

KSC10070R

REMAN-HYD MOTOR

1шт.

1

KSC10070C

CORE-MOTOR HYDRAULIC

Return Number

1шт.

2

KSC10080

REDUCER

1шт.

See Figure(s) 06-011-00 01

1шт.

2

KSC10240R

REMAN-REDUCTION UNIT

CX350C CRAWLER EXCAVATOR TIER 4 (NA), Reman for New PN KSC10080

1шт.

2

KSC10240C

CORE-REDUCTION UNIT

Return Number

1шт.

28

KSC0201

GEAR

1шт.

29

150285A1

PLATE, LOCKING

1шт.

30

167069A1

WASHER

1шт.

31

627-16040

BOLT,Hex, M16 x 2 x 40mm, Cl 10.9, Full Thd

2шт.

32

153630A1

LUBE NIPPLE

1шт.

33

150317A1

HEADED PIN,24mm OD x 90mm L

1шт.

34

166477A1

BOLT,Sems, M24 x 90mm

12шт.

35

KNJ14580

HYDRAULIC HOSE,470.00 mm

350 mm

1шт.

36

KHP0501

PLUG

1шт.

37

KHR2584

CLAMP

1шт.

38

KHJ1215

BOLT,Spcl

1шт.

Выбрано товаров: 19