Запчасти Case CX350C (06-003[00]) - TRAVEL REDUCTION GEAR (06) - POWER TRAIN

Схема запчастей Case CX350C - (06-003[00]) - TRAVEL REDUCTION GEAR (06) - POWER TRAIN
3
19
32
17
8
30
31
23
27
10
16
15
6
4
9
22
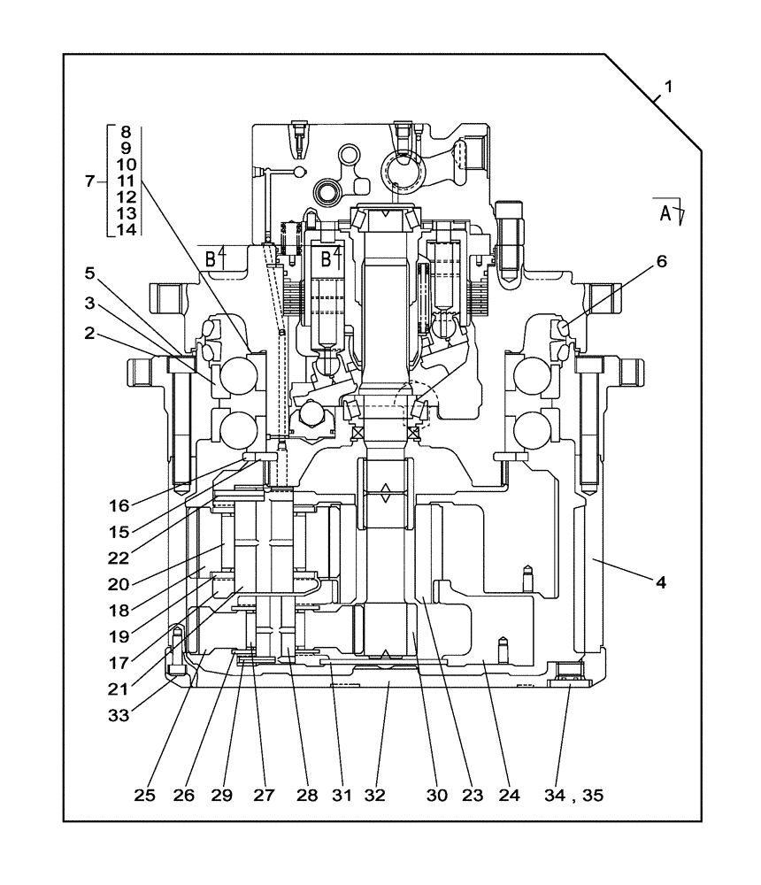
1
5
33
13
20
18
24
35
26
14
34
7
2
29
12
11
21
25
28
FIT
1:1
100%

Артикул

Название

Примечание

Количество

1

LN002190

REDUCER

1шт.

Include(s) 2 - 35

1шт.

2

LT00127

HOUSING

1шт.

3

LB00791

BEARING, BALL

2шт.

4

LC002630

HOUSING

1шт.

5

108R018Y110R

BOLT

M18 x 110

25шт.

6

LE00993

SEAL

1шт.

7

LH00388

SHIM

1шт.

Include(s) 8 - 14

1шт.

8

LH00421

SHIM,1.3mm Thk

1шт.

9

LH00422

SHIM,1.4mm Thk

1шт.

10

LH00423

SHIM,1.5mm Thk

1шт.

11

LH00424

SHIM,1.6mm Thk

1шт.

12

LH00425

SHIM,1.7mm Thk

1шт.

13

LH00426

SHIM,1.8mm Thk

1шт.

14

LH00427

SHIM,1.9mm Thk

1шт.

15

LA00832

LOCK WASHER

2шт.

16

LE00992

RING

1шт.

17

LN00097

HOUSING

1шт.

18

LC00253

GEAR

3шт.

19

LA00839

THRUST WASHER

6шт.

20

LB011160

NEEDLE BEARING

3шт.

21

LA00838

PIN

3шт.

22

338W100Z050B

KEY

3шт.

23

LC00206

SUN GEAR

1шт.

24

LN00134

HOUSING

1шт.

25

LC00244

GEAR

3шт.

26

LA00837

THRUST WASHER

6шт.

27

LB011170

NEEDLE BEARING

3шт.

28

LA00844

PIN

3шт.

29

338W060Z036N

PIN

3шт.

30

LC003310

SUN GEAR

1шт.

31

LR00857

PLATE

1шт.

32

LW004700

COVER

1шт.

33

861-10030

HEX SOC SCREW,M10 x 30mm, Cl 12.9

18шт.

34

LK00383

PLUG

2шт.

35

154503A1

O-RING

2шт.

Выбрано товаров: 0