Запчасти Case CX350C (08-010[00]) - HYDRAULIC CIRCUIT - BOOM CYLINDER - WITHOUT SAFETY VALVE (08) - HYDRAULICS

Схема запчастей Case CX350C - (08-010[00]) - HYDRAULIC CIRCUIT - BOOM CYLINDER - WITHOUT SAFETY VALVE (08) - HYDRAULICS
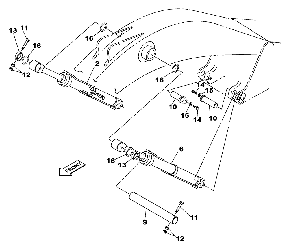
6
14
9
11
11
16
13
16
10
15
16
2
10
12
13
12
15
16
14
FIT
1:1
100%

Артикул

Название

Примечание

Количество

2

KSV1925

HYDRAULIC CYLINDER

1шт.

See Figure(s) 08-300-00 01

1шт.

2

KSV18670R

REMAN-HYD CYLINDER

1шт.

2

KSV18670C

CORE-HYD CYLINDER

Return Number

1шт.

6

KSV1926

HYDRAULIC CYLINDER

1шт.

See Figure(s) 08-301-00 01

1шт.

6

KSV18680R

REMAN-HYD CYLINDER

1шт.

6

KSV18680C

CORE-HYD CYLINDER

Return Number

1шт.

9

KSV1344

PIN

1шт.

10

KSV1520

PIN

2шт.

11

514-1404

BOLT,Hex, M24 x 2 x 190mm, Cl 10.9

M24 x 2 x 190

2шт.

12

829-13424

NUT,M24 x 2, Cl 10

4шт.

13

KSV1352

RING, LOCKING

RING, LOCK

2шт.

14

102R020Y035R

BOLT

M20 x 35

2шт.

15

KTV1185

SPACER

2шт.

16

162102A1

SHIM

1шт.

Выбрано товаров: 16